EasyManua.ls Logo

Casio ClassPad 300 PLUS - Page 289

Casio ClassPad 300 PLUS
753 pages
Print Icon
To Next Page IconTo Next Page
To Next Page IconTo Next Page
To Previous Page IconTo Previous Page
To Previous Page IconTo Previous Page
Loading...
20050501
4-5-3
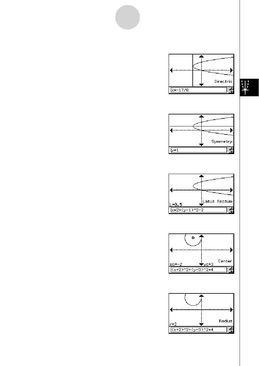
Using G-Solve to Analyze a Conics Graph
u To determine the directrix of the parabola x = 2(y – 1)
2
– 2
[Analysis] - [G-Solve] - [Directrix]
u To determine the axis of symmetry of the parabola x = 2(y – 1)
2
– 2
[Analysis] - [G-Solve] - [Symmetry]
u To determine the latus rectum of the parabola x = 2(y – 1)
2
– 2
[Analysis] - [G-Solve] - [Latus Rectum Length]
u To determine the center point of the circle x
2
+ y
2
+ 4x – 6y + 9 = 0
[Analysis] - [G-Solve] - [Center]
u To determine the radius of the circle x
2
+ y
2
+ 4x – 6y + 9 = 0
[Analysis] - [G-Solve] - [Radius]

Table of Contents

Related product manuals