EasyManua.ls Logo

CDA HC7621FR - Residual Heat Indicators; Efficient Use of Your Hob

CDA HC7621FR
28 pages
Print Icon
To Next Page IconTo Next Page
To Next Page IconTo Next Page
To Previous Page IconTo Previous Page
To Previous Page IconTo Previous Page
Loading...
14
Residual heat indicators
The hob is equipped with residual heat indicators to warn when any
of the zones are still hot to the touch after use. An ‘ ’ will show in a
zone’s indicator if the relevant zone is hot. You should avoid touching
any zone whilst the hob is in use, whilst residual heat indicators are
displayed and even for some time afterwards.
Please note: In the event of a power cut or failure, the residual heat
indicators will not illuminate after the power supply is restored. Also,
when there is no power supply to the hob the residual heat indicators
will not work, yet in both instances the hob zone(s) may still be hot, so
extra care must be taken.
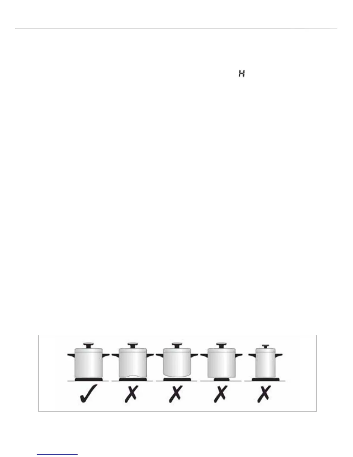
Ecient use of your hob
The hob is equipped with zones designed to accommodate most
shapes and sizes of pan. For best results, only use pans with flat
bottoms. The most ecient use of the hob is shown below, where the
pan and zone are correctly chosen. Use pan lids where possible to
minimize the energy usage of your appliance.
Fig.3

Related product manuals