EasyManua.ls Logo

Central Machinery 97099 - Electrical Schematics

Central Machinery 97099
46 pages
Print Icon
To Next Page IconTo Next Page
To Next Page IconTo Next Page
To Previous Page IconTo Previous Page
To Previous Page IconTo Previous Page
Loading...
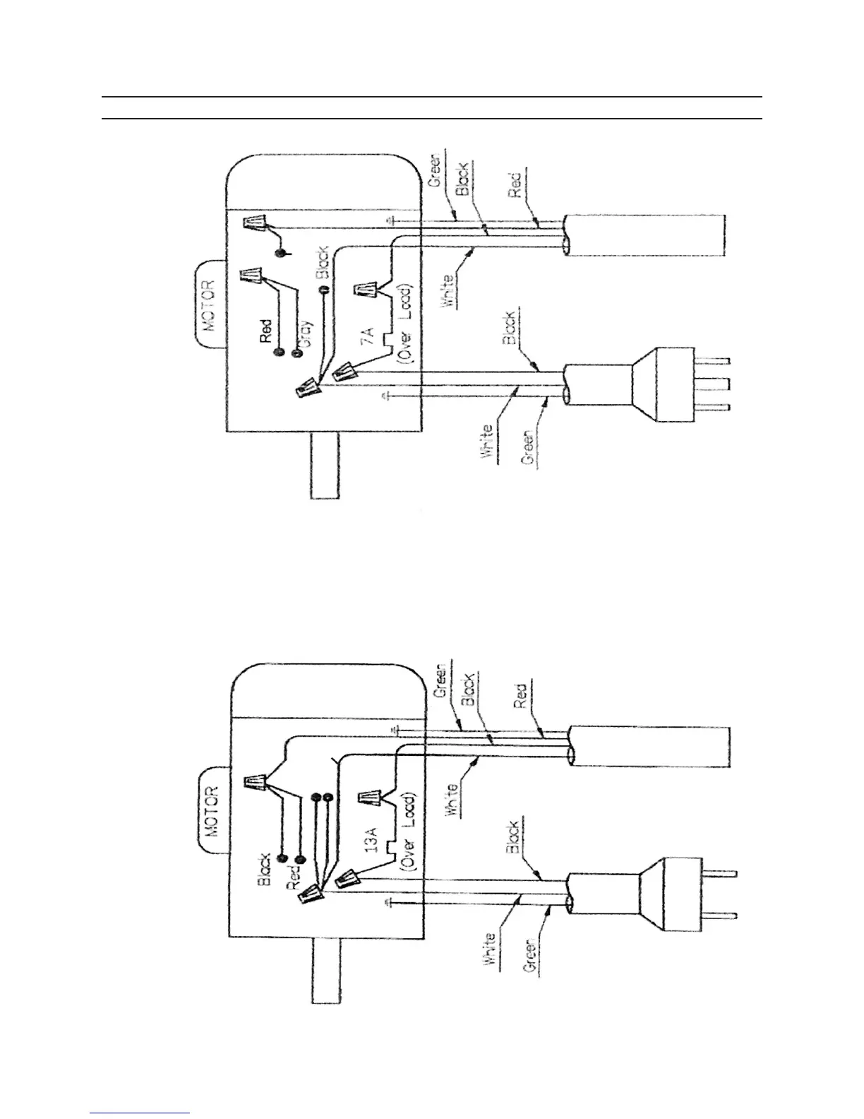
Page 43SKU 97009 For technical questions, please call 1-800-444-3353.
ELECTRICAL SCHEMATIC
120 VOLT
240 VOLT
120 VOLT
240 VOLT
Yellow
White
Yellow