EasyManua.ls Logo

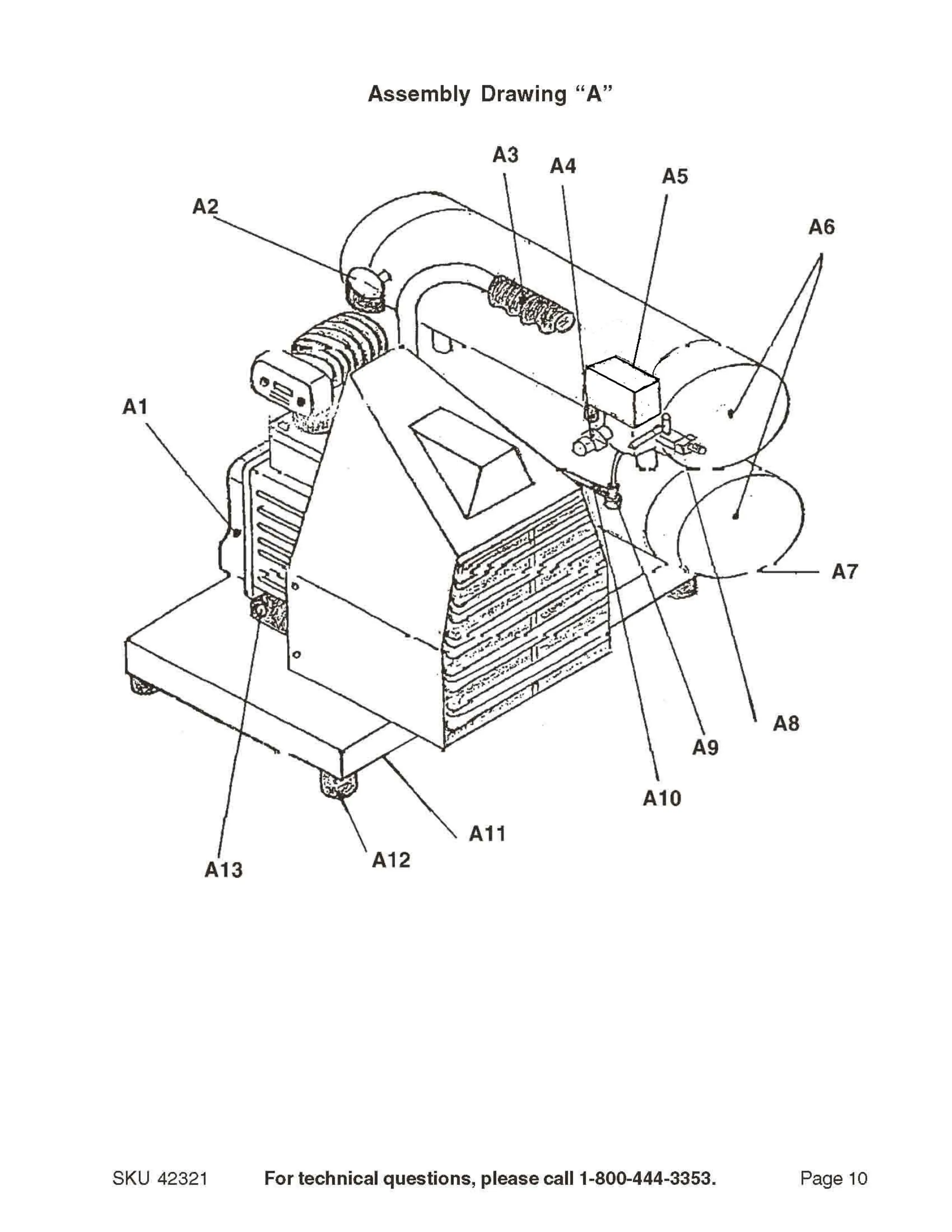
Central Pneumatic 42321 - Assembly Drawing A

Central Pneumatic 42321
12 pages
Print Icon
To Next Page IconTo Next Page
To Next Page IconTo Next Page
To Previous Page IconTo Previous Page
To Previous Page IconTo Previous Page
Loading...

Related product manuals