EasyManua.ls Logo

CESAB BT BLITZ 320 - Hydraulic Diagram; Control Valve Version

Default Icon
234 pages
Print Icon
To Next Page IconTo Next Page
To Next Page IconTo Next Page
To Previous Page IconTo Previous Page
To Previous Page IconTo Previous Page
Loading...
chapter 6000
page 3
1,2 - 2,0 t A.C.
SERVICE MANUAL
Electric
036-0410-07
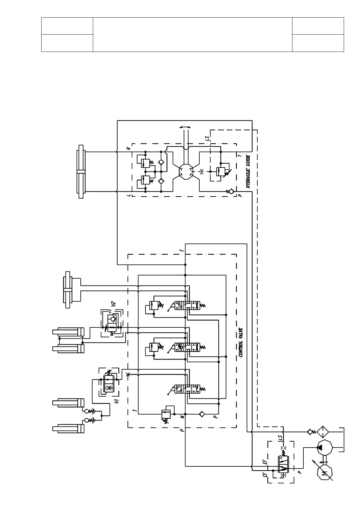
HYDRAULIC DIAGRAM
Control valve version
ORBITROL
LIFTING
STEERIG AXLE
TILTING
SIDESHIFT

Table of Contents