EasyManua.ls Logo

CESAB S214 - Page 288

Default Icon
324 pages
Print Icon
To Next Page IconTo Next Page
To Next Page IconTo Next Page
To Previous Page IconTo Previous Page
To Previous Page IconTo Previous Page
Loading...
© Cesab 20 – 10
T Code(s):
841, 842, 843
Repair manual:
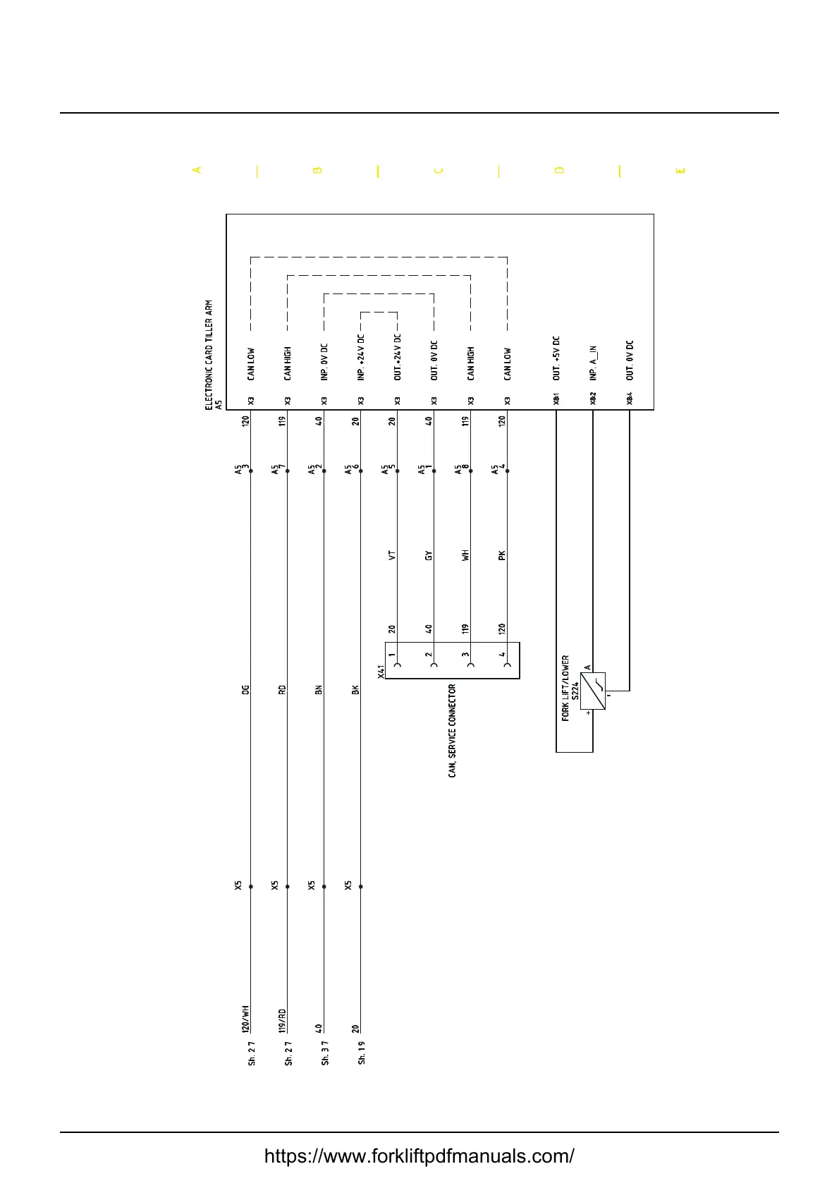
Electrical components and wiring diagrams
Model(s):
S210, S212, S212S, S212L, S214, S214L,
S220D
Publication Number:
7588857-040
Date:
2018-05-01
Applies from serial number:
6384351-
4/11 PROD G
236986
https://www.forkliftpdfmanuals.com/

Table of Contents

Other manuals for CESAB S214

Related product manuals