EasyManua.ls Logo

Cessna 150L - Page 232

Cessna 150L
358 pages
Print Icon
To Next Page IconTo Next Page
To Next Page IconTo Next Page
To Previous Page IconTo Previous Page
To Previous Page IconTo Previous Page
Loading...
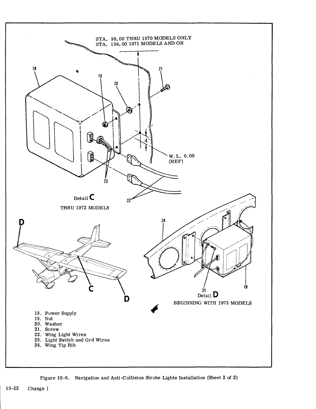
18
STA.
98.00
THRU 1970 MODELS ONLY
STA.
104.001971
MODELS AND ON
23
Detail
C
THRU 1972 MODELS
t
W.L.O.OO
(REF)
21
Detail
0
o
BEGINNING WITH 1973 MODELS
18.
Power
Supply
19. Nut
20.
Washer
21.
Screw
22. Wing
Light
Wires
23.
Light
Switch
and
Grd
Wires
24. Wing
Tip
Rib
Figure
16-6.
Navigation
and
Anti-Collision
Strobe
Lights
Installation
(Sheet 2 of 2)
16-22
Change
1

Table of Contents

Other manuals for Cessna 150L

Related product manuals