EasyManua.ls Logo

Chamberlain 3280 - Attach the Rail to the Header Bracket

Chamberlain 3280
36 pages
Print Icon
To Next Page IconTo Next Page
To Next Page IconTo Next Page
To Previous Page IconTo Previous Page
To Previous Page IconTo Previous Page
Loading...
10
Clevis Pin
5/16"x2-3/4"
Ring Fastener
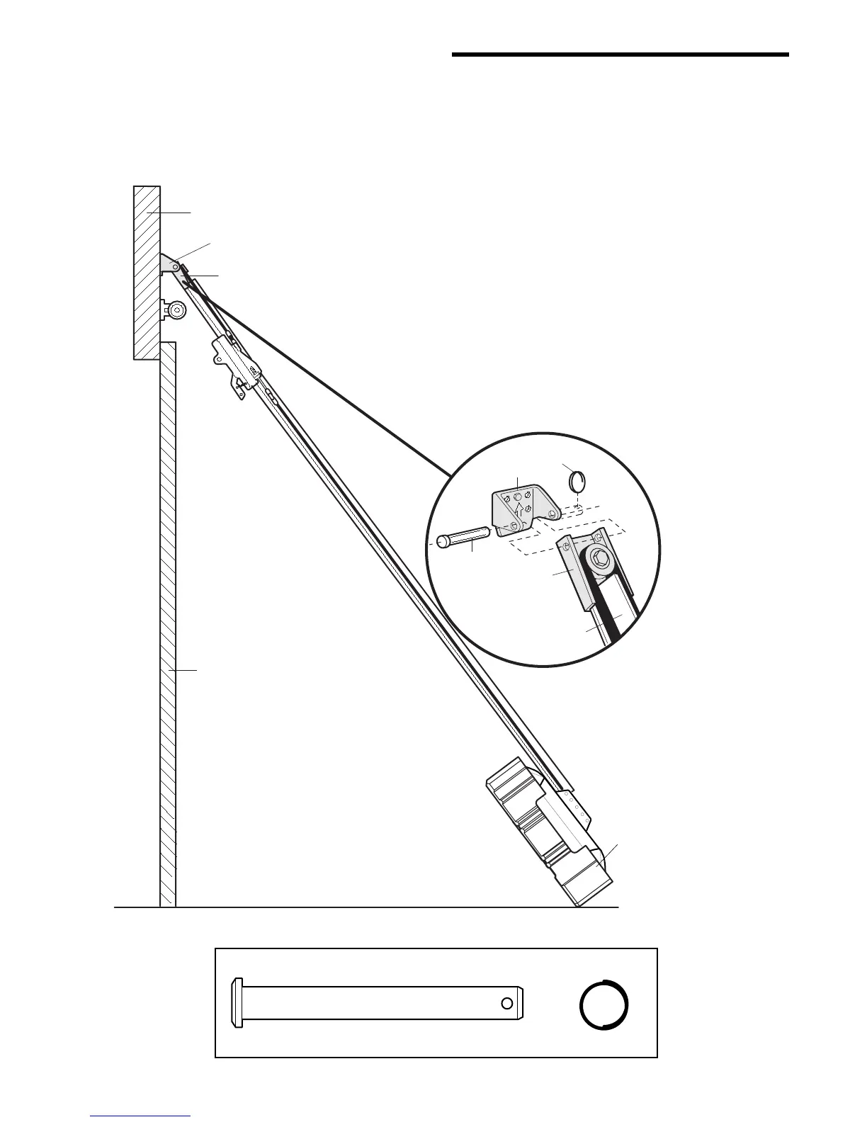
INSTALLATION STEP 3
Attach the Rail to the Header
Bracket
Position the opener on the garage floor below the
header bracket. Use packing material as a
protective base. NOTE: If the door spring is in the
way you’ll need help. Have someone hold the
opener securely on a temporary support to allow
the rail to clear the spring.
Position the rail bracket against the header
bracket.
Align the bracket holes and join with a clevis pin
as shown.
Insert a ring fastener to secure.
HARDWARE SHOWN ACTUAL SIZE
Header
Bracket
Belt Pulley
Bracket
Temporary
Support
Header Wall
Garage
Door
Clevis Pin
5/16"x2-3/4"
Ring
Fastener
Header
Bracket
Belt Pulley
Bracket
Rail

Related product manuals