EasyManua.ls Logo

Chauvet Mini Strobe Led - Product Introduction; Key Features; Product Overview Diagram

Chauvet Mini Strobe Led
7 pages
Print Icon
To Next Page IconTo Next Page
To Next Page IconTo Next Page
To Previous Page IconTo Previous Page
To Previous Page IconTo Previous Page
Loading...
Mini Strobe LED User Manual 4 Rev. 3
2. INTRODUCTION
Features
Ready to go out of the box
Manually adjustable strobe rate
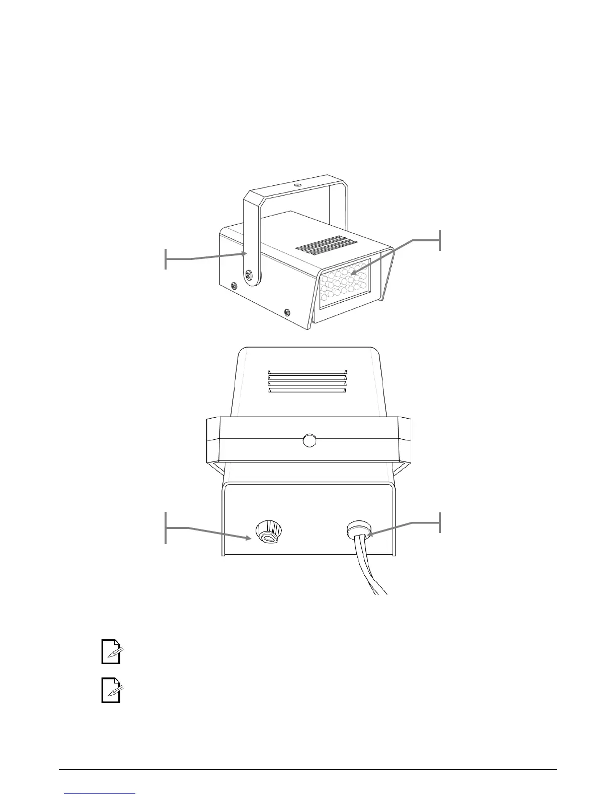
Product Overview
Turn the strobe speed adjustment knob clockwise to increase the strobe speed.
Turning the speed adjustment fully counter-clockwise does NOT turn off the fixture. It
turns it to the lowest setting. It is NOT possible to turn the strobe OFF when plugged
into power.
Strobe Output
Hanging Bracket
Power In
Strobe Speed
Adjustment Knob

Other manuals for Chauvet Mini Strobe Led

Related product manuals