EasyManua.ls Logo

Cisco Secure Network Server 3600 Series - Initial Setup

Cisco Secure Network Server 3600 Series
38 pages
Print Icon
To Next Page IconTo Next Page
To Next Page IconTo Next Page
To Previous Page IconTo Previous Page
To Previous Page IconTo Previous Page
Loading...
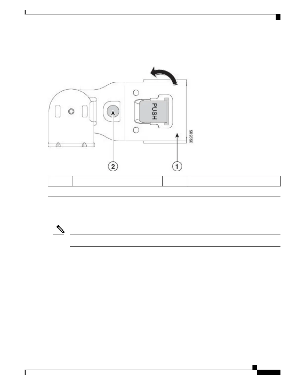
Step 3 Pivot the tab that is at the end of the width-adjustment slider. Depress and hold the metal button on the outside of the tab
and pivot the tab 180 degrees so that it points toward the rear of the appliance.
Figure 11: Reversing the CMA
Metal button on outside of tab2CMA tab on end of width-adjustment slider1
Initial Setup
This section describes how to connect to the system for initial setup.
Note
Appliance Default Settings
The appliance is shipped with the following default settings:
The NIC mode is Shared LOM EXT.
Shared LOM EXT mode enables the 1-Gb/10-Gb Ethernet ports and the ports on any installed Cisco
virtual interface card (VIC) to access the Cisco IMC. If you want to use the 10/100/1000 dedicated
management ports to access Cisco IMC, you can change the NIC mode as described in Setting Up the
System With the Cisco IMC Configuration Utility, on page 24.
The NIC redundancy is Active-Active. All Ethernet ports are utilized simultaneously.
DHCP is enabled.
IPv4 is enabled.
Cisco Secure Network Server 3600 Series Appliance Hardware Installation Guide
21
Installing the Appliance
Initial Setup

Related product manuals