EasyManua.ls Logo

Citizen GSX-190 - Paper Tear-Off

Citizen GSX-190
92 pages
To Next Page IconTo Next Page
To Next Page IconTo Next Page
To Previous Page IconTo Previous Page
To Previous Page IconTo Previous Page
Loading...
________________________________________________________
42
Paper Tear-Off
_________________________________________________________________
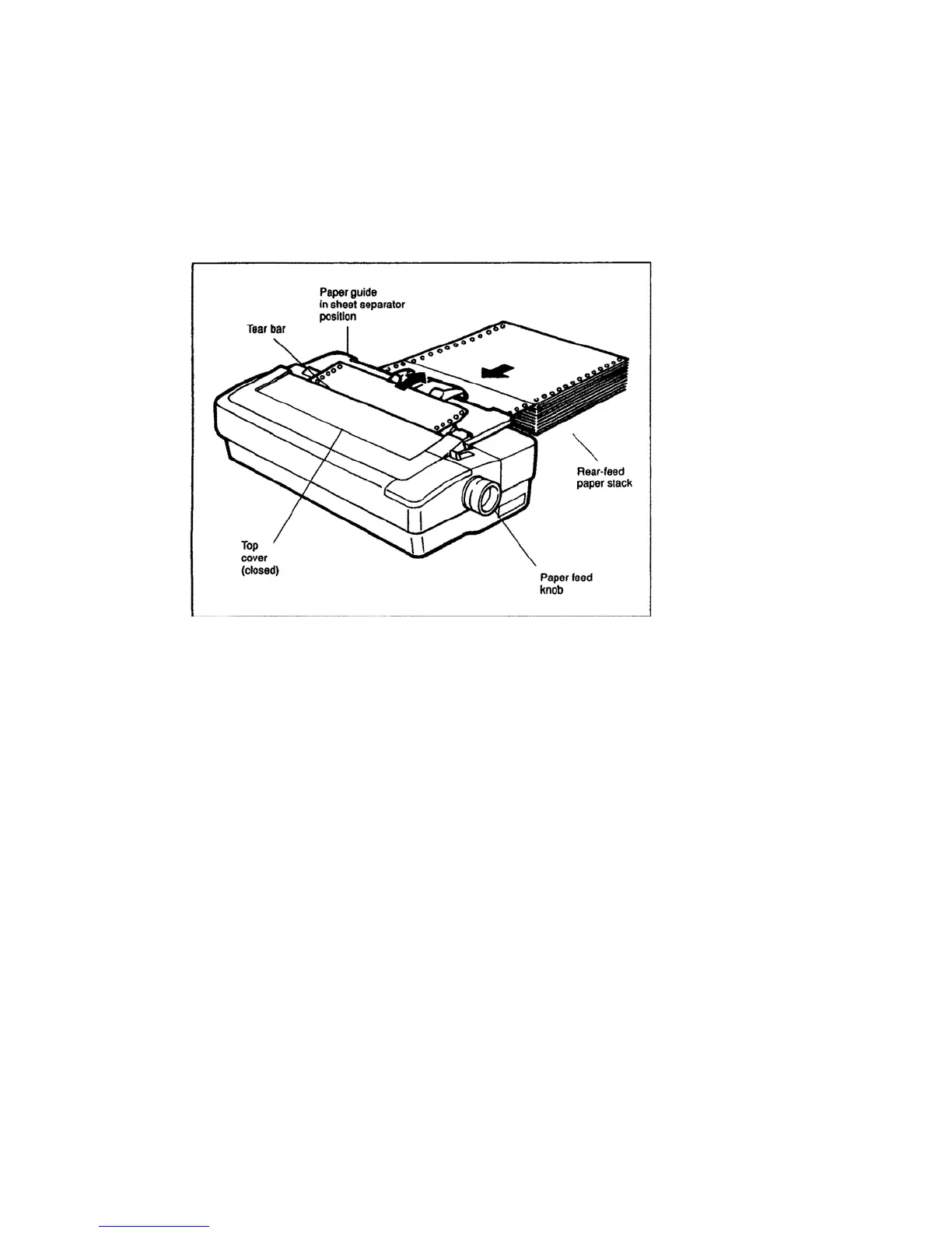
7. Move the paper holders from the sides into the middle of the
paper guide. This prevents your printed output from becoming
accidentally jammed in the paper guide on its way out of the
printer. See Figure 3-8.
8. Press the PARK/LOAD key. This advances the paper to
the starting print position.
9. Press the ON LINE key.
Paper Tear-Off
The top cover of your printer has a tear bar at the rear edge so
you can easily tear off perforated sheets without wasting paper.
Figure 3-8. Continuous paper feeding into the rear of the printer.

Table of Contents

Related product manuals