EasyManua.ls Logo

Citizen GSX-190 - Page 54

Citizen GSX-190
92 pages
To Next Page IconTo Next Page
To Next Page IconTo Next Page
To Previous Page IconTo Previous Page
To Previous Page IconTo Previous Page
Loading...
________________________________________________________
54
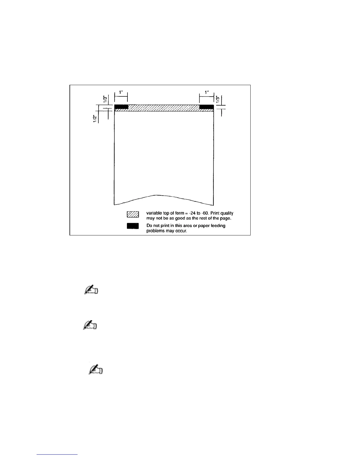
Top-of-Form Fine Adjustment
_______________________________________________________________________
Envelopes should not be used with -71 through -60 variable top-of-
form settings. Paper feeding problems may occasionally occur.
The default top of form is 1". With 11" paper, this leaves you with 10'
of printable area. Reduce the page height in your software to10" to
compensate.
A simple test of how your software and the GSX-190 work together
is to create a document that's nothing but numbered lines from 1
to66. Print this document to see what fits on a page.
You can reset top of form to its default position by holding the
PARK/LOAD key until the paper is advanced as far as it will go Then
press the key again for 2 seconds. The paper will return to its default
position.
Figure 3-14. Extend the variable top of form setting.

Table of Contents

Related product manuals