EasyManua.ls Logo

Clark WSRX 30 - Page 32

Clark WSRX 30
78 pages
Print Icon
To Next Page IconTo Next Page
To Next Page IconTo Next Page
To Previous Page IconTo Previous Page
To Previous Page IconTo Previous Page
Loading...
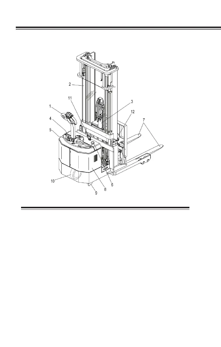
3.2
Truck Model Description
1. Control Handle (Steering, Braking, Lift/Lower, etc.)
2. Windshield
3. Lift Cylinder
4. Key Switch
5. Battery Discharge Indicator
6. Battery Disconnect
7. Forks
8. Cover
9. Stabilizers
10. Drive Wheel
11. Battery Plug
12. Reach Assermbly
Common Truck

Related product manuals