EasyManua.ls Logo

Clifford Matrix RS2 - Page 10

Clifford Matrix RS2
48 pages
Print Icon
To Next Page IconTo Next Page
To Next Page IconTo Next Page
To Previous Page IconTo Previous Page
To Previous Page IconTo Previous Page
Loading...
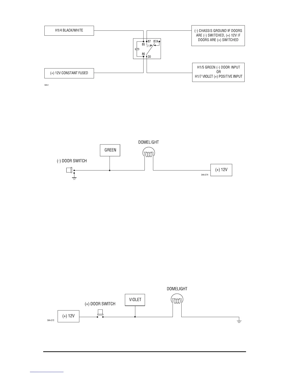
H1/5 GREEN (-) Door Trigger Input, Zone 3
Most vehicles use negative door trigger circuits. Connect the green wire to a wire which shows
ground when any door is opened. In vehicles with factory delays on the domelight circuit, there is
usually a wire that is unaffected by the delay circuitry. This wire will report Zone 3.
H1/6 BLUE (-) Multiplex Input, Zone 4
Inputs shorter than 0.8 seconds will trigger the Warning Zone response, while inputs longer than
0.8 seconds will trigger the full alarm sequence. If installing an optional Directed dual stage sensor,
connect both the blue and the green wires of the optional sensor to this input. This wire will report
Zone 4.
H1/7 VIOLET (+) Door Trigger Input, Zone 3
This wire is used in vehicles that have a positive (+) switched dome light circuit. Connect the violet
wire to a wire that shows (+)12V when any door is opened, and ground when the door is closed.
This wire will report Zone 3.
10
©
2001
Directed Electronics, Inc.

Table of Contents

Related product manuals