EasyManua.ls Logo

Clifford Matrix RS2 - Page 9

Clifford Matrix RS2
48 pages
Print Icon
To Next Page IconTo Next Page
To Next Page IconTo Next Page
To Previous Page IconTo Previous Page
To Previous Page IconTo Previous Page
Loading...
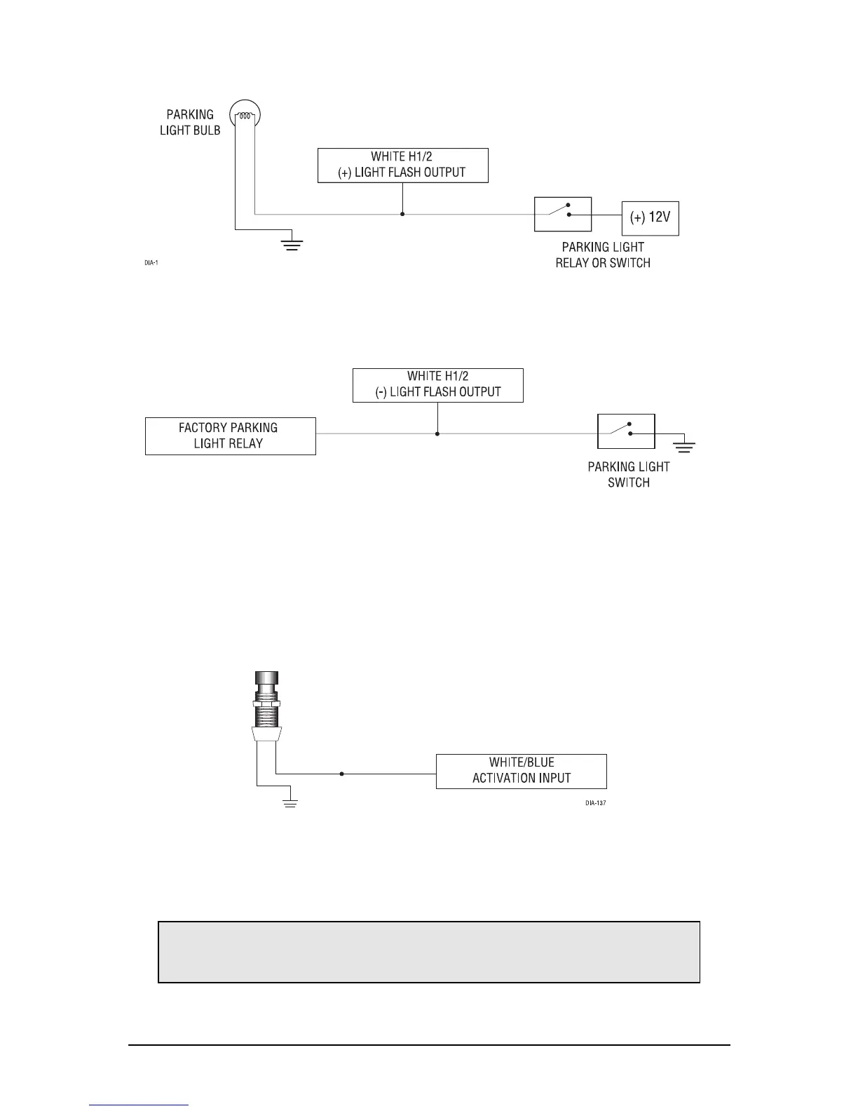
(+) POSITIVE LIGHT FLASH OUTPUT
(-) LIGHT FLASH OUTPUT
H1/3 WHITE/BLUE Remote Start (-) Activation Input
A momentary input on this wire will start or stop the motor, just as transmitting Channel 3 from
the remote transmitter does. It is often connected to an optional momentary push-button switch to
make access to Valet Take Over Mode and Timer Mode more convenient.
H1/4 BLACK /WHITE (-) 200 mA Domelight Supervision Output
Connect this wire to the optional domelight supervision relay as shown in the following diagram.
IMPORTANT! The H1/4 output is only intended to drive a relay. It cannot be connected
directly to the domelight circuit because the output cannot support the current draw of
one or more light bulbs.
www.clifford.com
9

Table of Contents

Related product manuals