EasyManua.ls Logo

Clifford Matrix RS2 - Page 13

Clifford Matrix RS2
48 pages
Print Icon
To Next Page IconTo Next Page
To Next Page IconTo Next Page
To Previous Page IconTo Previous Page
To Previous Page IconTo Previous Page
Loading...
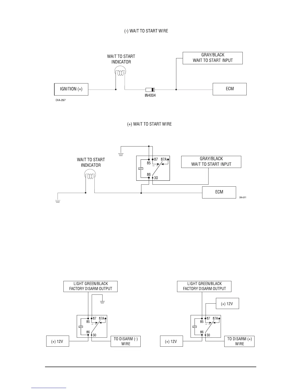
H2/2 LIGHT GREEN/BLACK (-) Factory Disarm Output
This wire sends a negative pulse every time the remote engine starting system is activated. This can
be used to pulse the disarm wire of the vehicle's factory anti-theft device. Use a relay to send a (-)
or (+) pulse to the disarm wire as shown in the diagrams below. This wire can also be used as a
special accessory output. (See Feature Descriptions section of this guide.)
RELAY FOR NEGATIVE (-) DISARM WIRE RELAY FOR POSITIVE (+) DISARM WIRE
www.clifford.com
13

Table of Contents

Related product manuals