EasyManua.ls Logo

Commodore CVR 300 - Page 143

Commodore CVR 300
Print Icon
To Next Page IconTo Next Page
To Next Page IconTo Next Page
To Previous Page IconTo Previous Page
To Previous Page IconTo Previous Page
Loading...
ITALIANO
143
Con il pulsante è possibile scegliere tra i livelli di potenza
di aspirazione:
1. ECO (potenza di aspirazione minima)
2. Normale (potenza di aspirazione normale)
3. Turbo (potenza di aspirazione massima)
Se il robot aspirapolvere è controllato tramite l'app, sono
disponibili modalità di aspirazione aggiuntive. È possibile
trovare informazioni nelle istruzioni per l'uso dell'app sulla
home page "commodore-home.com"
ATTENZIONE!
Modalità di pulizia
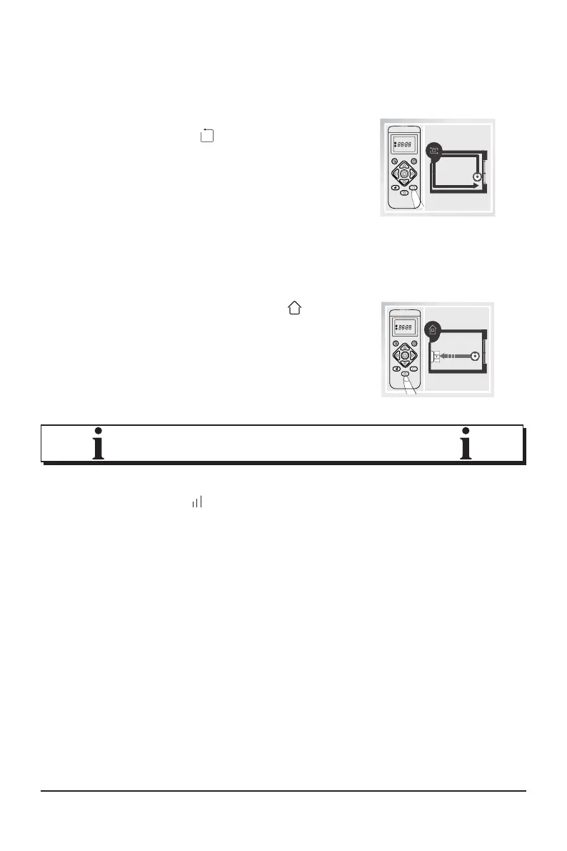
Modalità bordo
Premere il pulsante
sul telecomando
per attivare la "modalità bordo". Il robot
aspirapolvere pulisce lungo i muri e
attorno a mobili o ostacoli simili.
Ritorno
Se si preme il pulsante
sull'
aspirapolvere robot o sul telecomando,
l'aspirapolvere robot torna alla stazione
di ricarica tramite il percorso più breve
possibile.