EasyManua.ls Logo

Compool Cp3810 - Power Center Operations; Power Center Equipment Keys

Compool Cp3810
43 pages
Print Icon
To Next Page IconTo Next Page
To Next Page IconTo Next Page
To Previous Page IconTo Previous Page
To Previous Page IconTo Previous Page
Loading...
31
Compool Cp3810
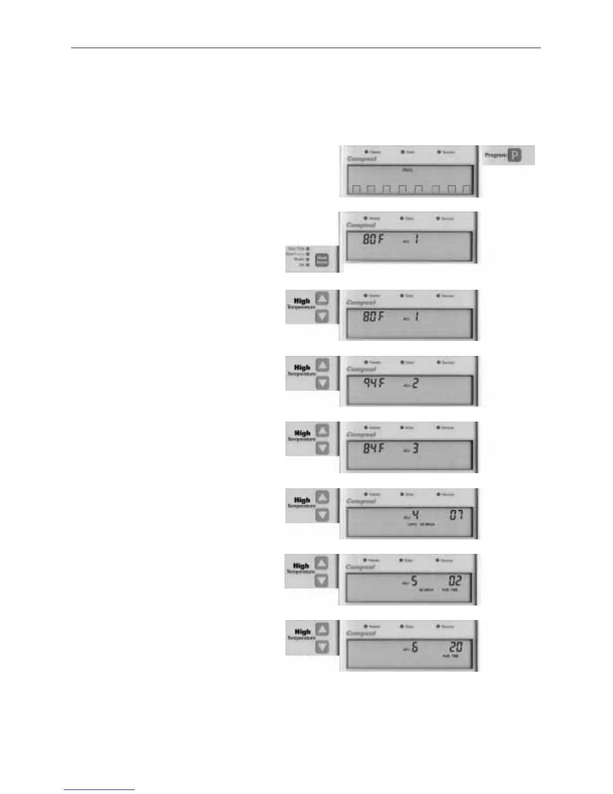
Calibration
The temperature sensors, backwash, and floor cleaner valve can be adjusted in the calibration
mode. Allow pool to run 5 minutes before calibrating the Water Temperature Sensor.
To calibrate equipment
1. Press the Program key.
2. Press the Spa Heat
Source key.
3. Enter correct pool
temperature and press
Spa Heat Source key.
4. Enter correct solar
temperature and press
Spa Heat Source key.
5. Enter correct air
temperature and press
Spa Heat Source key.
6. Enter number of days
between backwash and
press Spa Heat Source
key.
7. Enter number of
minutes to backwash
and press Spa Heat
Source key.
8. Enter floor cleaner
valve cycle time and
press Spa Heat Source
key.
9. Press the Program key to end.

Table of Contents

Related product manuals