EasyManua.ls Logo

Conqueror CIL-CD800S - Installing Opener; Installation of Door Opening Limit Piece

Default Icon
14 pages
Print Icon
To Next Page IconTo Next Page
To Next Page IconTo Next Page
To Previous Page IconTo Previous Page
To Previous Page IconTo Previous Page
Loading...
www.conquerordoors.com
5
4
3
1
200- 300 mm
2
1 2
5 6
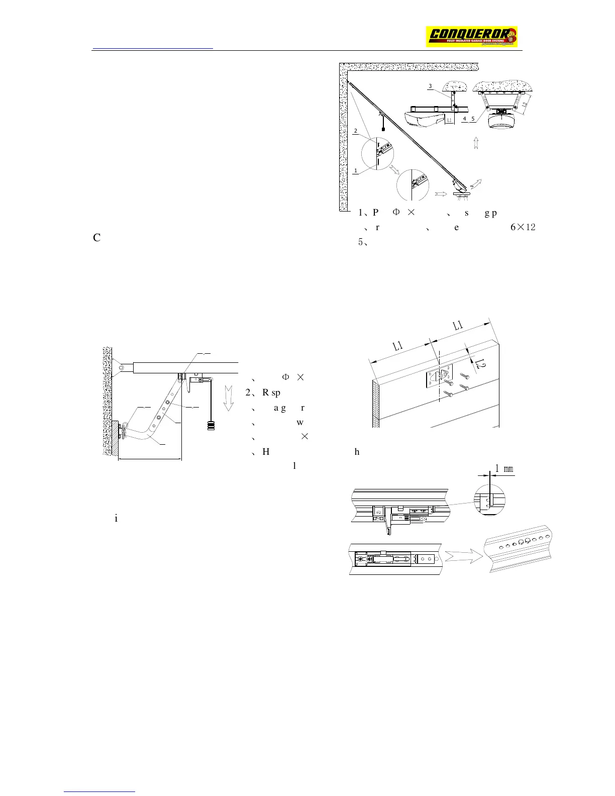
3.5.3 Hoisting opener
As per Fig12, connect the door end of the Rail to the
front header bracket and secure. Lift the motor end
the opener to the horizontal Position and fix to the
perforated angle that is fitted to the ceiling using two
shorter lengths of perforated angle. It is possible
to screw directly through the rail within 200mm
of the head and direct fix into timber through the
rail assembly. We recommend at least two secure
screws into a ceiling with sufficient timber fixings.
3.5.4 Installation of garage door bracket
Close the door manually making sure the door is fully
closed and the emergency release lever is not engaged
into the rail assembly locking holes.
Fix the Opener Door Bracket as in Fig13 showing ( L2=
30 – 50 mm ), then fix in place with steel-tec screws
Note: If there is no correspondent support steel sheets in the door panel’s center, the
support board must be added to ensure the installation strength of door bracket.
3.5.5 Installation of straight arm and hockey stick
As Fig 14 showing, respectively connect straight
Arm to the Traveller and the Hockey Stick to the door
bracket; then pull down the rope on clutch to release it,
move the clutch base to the position showing as
Fig 14, then using bolts to lock straight drawbar and
bent drawbar. Adjust the length of clutch rope to
make the height from the clutch handle to the ground not less than 1.8 meter
3.6 Installation of door “open” limit stop
Manually open the door to the required opening height; by using bolts M6x12, fix the limit
stop bracket as per Fig 15. If the position is not pre-drilled, drill new holes and locate.
Fig13
1
2
3
54
1
Pin
Φ
8
×
80 2
R spring pin
3
bracket 4
square neck boltsM6
×12
5
Nuts M6
1
Pin
Φ
8
×
22
2
R spring pin
3
Straight drawbar
4
Bent drawbar
5
Bolts M8
×
20
6
Hexagon head with
spring flange nutsM8
Fig15
Fig 14

Related product manuals