EasyManua.ls Logo

Copeland Sentronic - Page 12

Default Icon
18 pages
Print Icon
To Next Page IconTo Next Page
To Next Page IconTo Next Page
To Previous Page IconTo Previous Page
To Previous Page IconTo Previous Page
Loading...
MAY 2024
© 2024 Copeland 12 www.copeland.com
BULLETIN AE8-1275 R10
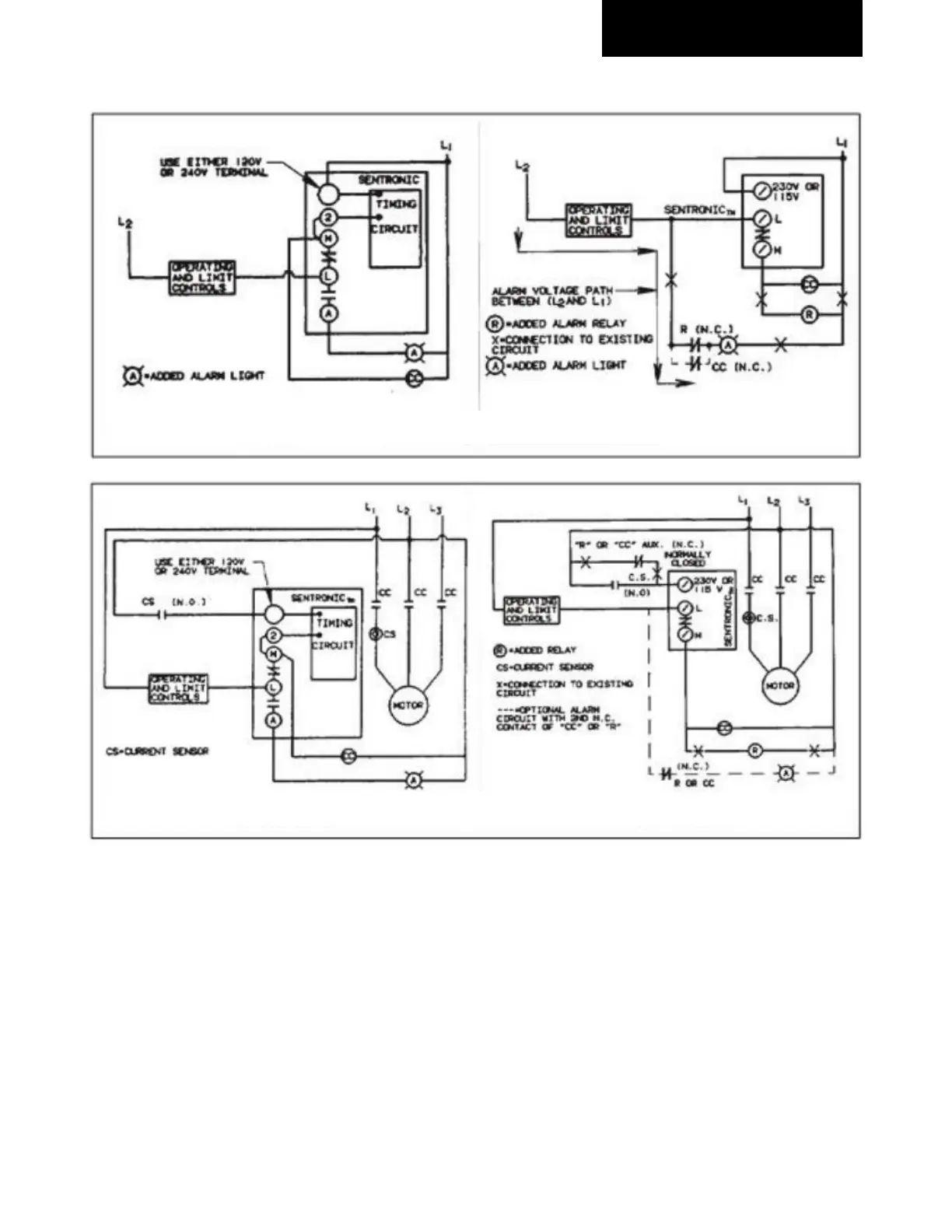
Diagram 4A Diagram 4B
Diagram 5A Diagram 5B