EasyManua.ls Logo

Crane EPRO-150 - Fig. 4: EPRO-1500 to 8000 Diagram

Crane EPRO-150
57 pages
Print Icon
To Next Page IconTo Next Page
To Next Page IconTo Next Page
To Previous Page IconTo Previous Page
To Previous Page IconTo Previous Page
Loading...
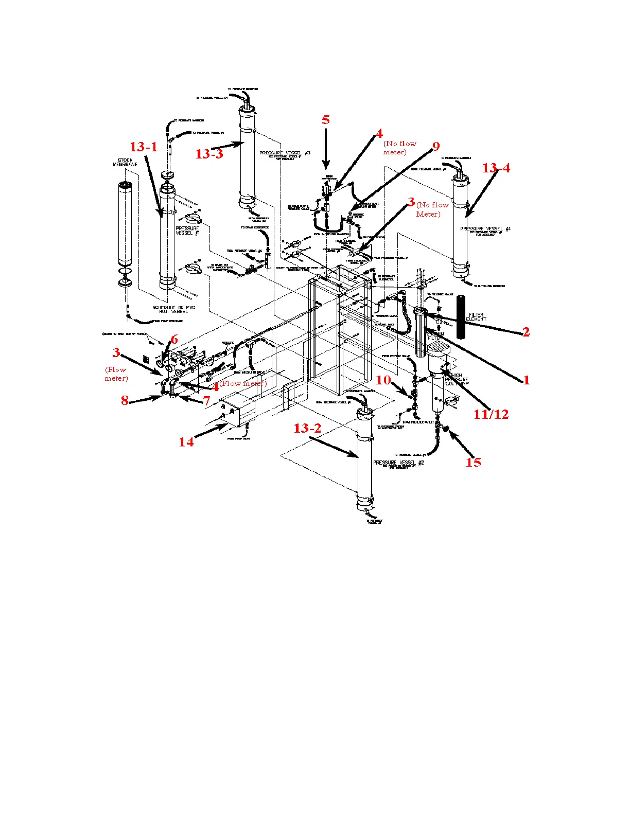
FIG. 4: EPRO-1500 to 8000 Diagram
1. PRE-FILTER HOUSING
2. FEED WATER INLET
3. PERMEATE OUTLET
4. CONCENTRATE OUTLET
5. CONCENTRATE CONTROL VALVE
6. CONCENTRATE PPRESSURE VALVE
7.* CONCENTRATE FLOW METER
8.* PERMEATE FLOW METER
9.* WASTE RECYCLE VALVE
10. INLET SOLENOID VALVE
11. PUMP
12. MOTOR
13. PRESSURE VESSEL (SEE BELOW)
14.* CONTROL BOX (LOW PRESSURE
OPTIONS / FLOAT SWITCH
* INDICATES THAT THE ITEM IS OPTIONAL.
NOTE: THE SIZE AND NUMBER OF THE PRESSURE VESSLES VARIES ACCORDING TO
EPRO MODEL.
EPRO 150-8000 O&M MANUAL Rev.04/03 Page 17 of 55