EasyManua.ls Logo

Create VEGAN MILK MAKER - Wie Benutzt man; Schalttafel; Beschreibung der Programme; Vor Gebrauch

Create VEGAN MILK MAKER
56 pages
Print Icon
To Next Page IconTo Next Page
To Next Page IconTo Next Page
To Previous Page IconTo Previous Page
To Previous Page IconTo Previous Page
Loading...
37
DEUTSCH
WIE BENUTZT MAN
SCHALTTAFEL
VOR GEBRAUCH
BESCHREIBUNG DER PROGRAMME
Informationen zu den Zutatenverhältnissen und zur ordnungsgemäßen Verwendung der ein-
zelnen Kochprogramme nden Sie in den spezischen Rezepten für dieses Produkt.
Dieses Produkt ist für den Einsatz in Regionen unter 1500 Metern über dem Meeresspiegel
konzipiert und limitiert.
Reinigen Sie das Gerät, bevor Sie es verwenden.
Wenn zwischen dem geplanten und dem Ergebnis ein großer Volumenunterschied besteht,
drücken Sie gleichzeitig 3 Sekunden lang die Menütaste und die Kapazitätstaste, um die
Wasserpumpe zu kalibrieren. Während der Kalibrierung leuchtet die 0,6-l-Lampe konstant
und blinkt nach der Kalibrierung. (Stellen Sie den Getränkebehälter auf und stellen Sie
sicher, dass das Gerät während der Kalibrierung auf einer ebenen Fläche steht.)
HINWEIS: Drücken Sie die Taste Reinigen / Trocknen 3 Sekunden lang, um die Höhe gründ-
lich zu reinigen und zu ermitteln.
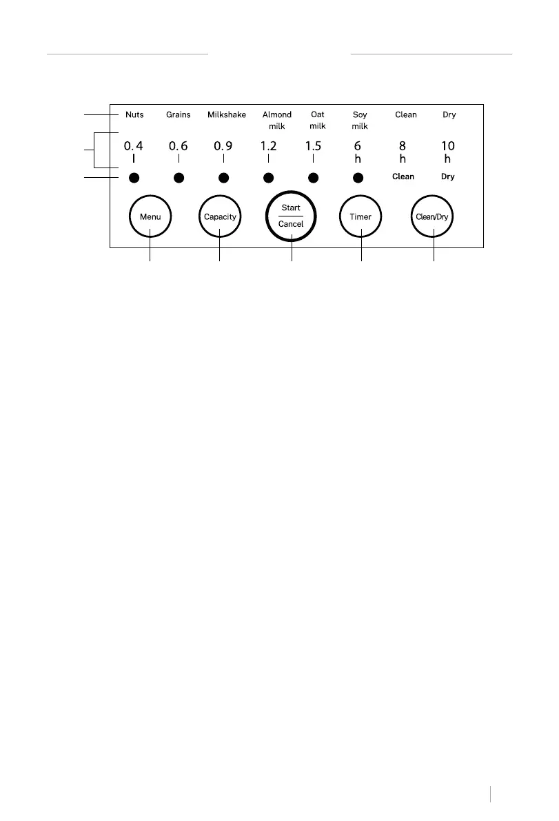
1. Nüsse: Für Nüsse und Samen.
2. Körner: Für Getreide und Pseudo-Getreide (Quinoa, Amaranth, Buchweizen usw.)
3. Milchshake: Für milchfreie Milch mit Datteln oder anderen getrockneten oder reifen
Früchten.
4. Mandelmilch: Schneller Zugang zur Herstellung von Mandelmilch.
5. Hafermilch: Schneller Zugang zur Herstellung von Hafermilch.
6. Ich bin Milch: Schneller Zugriff auf Sojamilch.
1. Programmanzeige
2. Zeit und Kapazität (blaues Licht)
3. Ausgewähltes Programm (orangefar-
benes Licht)
4. Menütaste
5. Kapazitätstaste
6. Starten / Abbrechen
7. Timer-Taste
8. Reinigen / Heißtrocknen / Wasserablass-
knopf
1
2
3
4 5 6 7 8

Table of Contents

Related product manuals