EasyManua.ls Logo

Create VEGAN MILK MAKER - Jak Używać; Panel Sterowania; Opis Programów; Przed Użyciem

Create VEGAN MILK MAKER
56 pages
Print Icon
To Next Page IconTo Next Page
To Next Page IconTo Next Page
To Previous Page IconTo Previous Page
To Previous Page IconTo Previous Page
Loading...
49
POLSKI
JAK UŻYW
PANEL STEROWANIA
PRZED UŻYCIEM
OPIS PROGRAMÓW
Zobacz szczegółowe przepisy na ten produkt, aby uzyskać informacje na temat proporcji
składników i właściwego wykorzystania każdego programu gotowania.
Ten produkt jest przeznaczony do użytku w regionach poniżej 1500 metrów nad poziomem
morza i jest przeznaczony do użytku w ograniczonym zakresie.
Wyczyść urządzenie przed użyciem.
Jeśli występuje duża różnica objętości między planowanym a wynikiem, naciśnij jednocze-
śnie przycisk Menu i przycisk Wydajność przez 3 sekundy, aby skalibrować pompę wodną.
Podczas kalibracji lampka 0,6L będzie świecić światłem ciągłym i będzie migać po zakoń-
czeniu kalibracji. (Umieść pojemnik z napojem na miejscu i upewnij się, że urządzenie jest
ustawione na płaskiej powierzchni podczas kalibracji.)
UWAGA: Naciśnij przycisk Clean / Dry przez 3 sekundy, aby dokładnie wyczyścić i wykryć
wysokość.
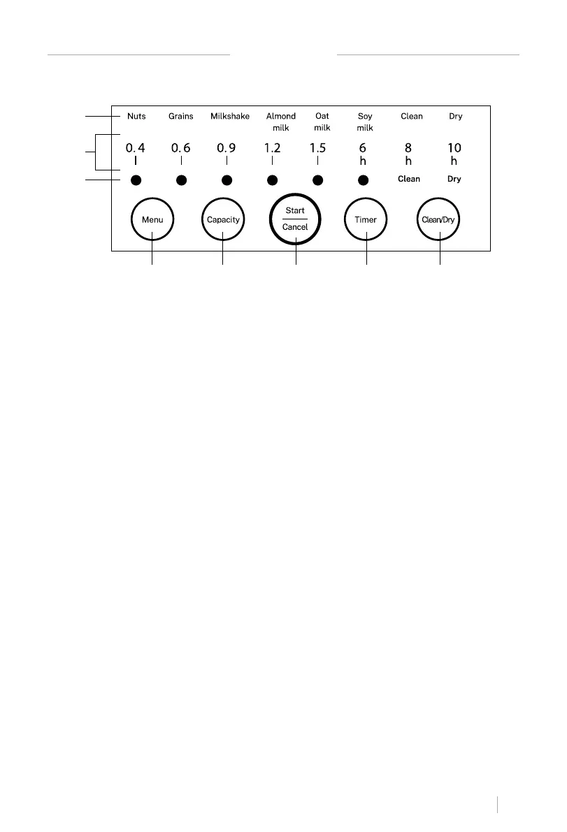
1. Orzechy: Do orzechów i nasion.
2. Ziarna: Na zboża i pseudozboża (komosa ryżowa, amarantus, gryka itp.)
3. Napój mleczny: Do mleka bezmlecznego z daktylami lub innymi suszonymi lub dojrzałymi
owocami.
4. Mleko migdałowe: Szybki dostęp do mleka migdałowego.
5. Mleko owsiane: Szybki dostęp do mleka owsianego.
6. Jestem mlekiem: Szybki dostęp do mleka sojowego.
1. Wskaźnik programu
2. Czas i pojemność (niebieskie światło)
3. Wybrany program (pomarańczowe
światło)
4. Przycisk MENU
5. Przycisk pojemności
6. Start / Anuluj
7. Przycisk timera
8. Przycisk czyszczenia / suszenia na gorą-
co / spustu wody
1
2
3
4 5 6 7 8

Table of Contents

Related product manuals