EasyManua.ls Logo

Creda C161E - Clock;Minute Minder Operation; Setting the Time of Day; Oven Timer Operation (C161 E, C261 E, C365 E & R365 E)

Creda C161E
52 pages
Print Icon
To Next Page IconTo Next Page
To Next Page IconTo Next Page
To Previous Page IconTo Previous Page
To Previous Page IconTo Previous Page
Loading...
Clock/Minute Minder Operation
(C161E, C261E, C365E & R365E)
14
CLOCKFACE
The timer incorporates a 24 hour clock.
Ensure the correct time of day is always set before using your
cooker.
PLEASE NOTE THAT THE DISPLAY WILL DIM BETWEEN 22.00 HOURS
AND 06.00 HOURS TO PREVENT GLARE.
However, should you operate the timer during these hours the
display will return to normal brightness for a few seconds and then
dim again.
SYMBOLS
will light up when you select a Minute Minder Period and will
remain lit for the period set. At the end of the Minute Minder Period,
the timer will emit an audible tone for 2 minutes, the symbol will
start to flash and will continue to flash until the Minute Minder function
is cancelled.
NB.
If at any time the display shows a ‘KEY’ symbol, the operation of the
timer is unaffected.
The ‘KEY symbol can be deleted by pressing both buttons for a period
of approximately 8 seconds, followed by a single press of the ‘+ button.
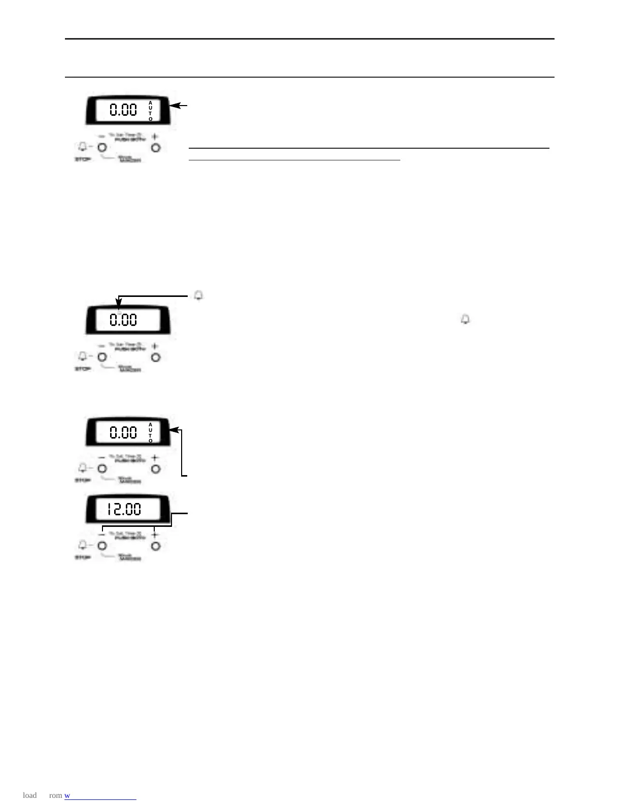
SETTING THE TIME OF DAY
Step 1 Make sure all oven controls are turned off.
Step 2 Check the electricity supply to the cooker is turned on.
Step 3 When switched on, the display will show 0.00 / AUTO.
THIS NEXT STEP SHOULD BE COMPLETED WITHIN 4 SECONDS...
Step 4 Press and release both the ‘+’ and ‘-’ buttons together.
Press the ‘+’ button and the display will show 12.00
Then press the ‘+’ or ‘-’ button to set the correct time of day.
THE TIME OF DAY IS NOW SET.
To change the time of day repeat Step 4 above.
0.00
A
U
T
O
0.00
A
U
T
O
0.00
A
U
T
O
12.00

Related product manuals