EasyManua.ls Logo

Cub Cadet THE TANK S6031 - Maintenance and Service; Mower Deck Maintenance

Cub Cadet THE TANK S6031
32 pages
Print Icon
To Next Page IconTo Next Page
To Next Page IconTo Next Page
To Previous Page IconTo Previous Page
To Previous Page IconTo Previous Page
Loading...
16
MAINTENANCE AND
SERVICE
WARNING:
Disconnect the spark plug wires or remove the key
from the ignition to prevent the engine from acciden-
tally starting before performing any maintenance on
this mower.
A. Mower Deck
1. Removing the Mower Deck:
a. Apply the parking brake. Remove ignition key
and both spark plug caps.
b. Lower the cutter deck to the ground. Place the
height of cut clevis pin in the “lock” position.
c. Remove tension of the PTO belt by moving the
belt tensioning rod.
d. Detach the mower drive belt.
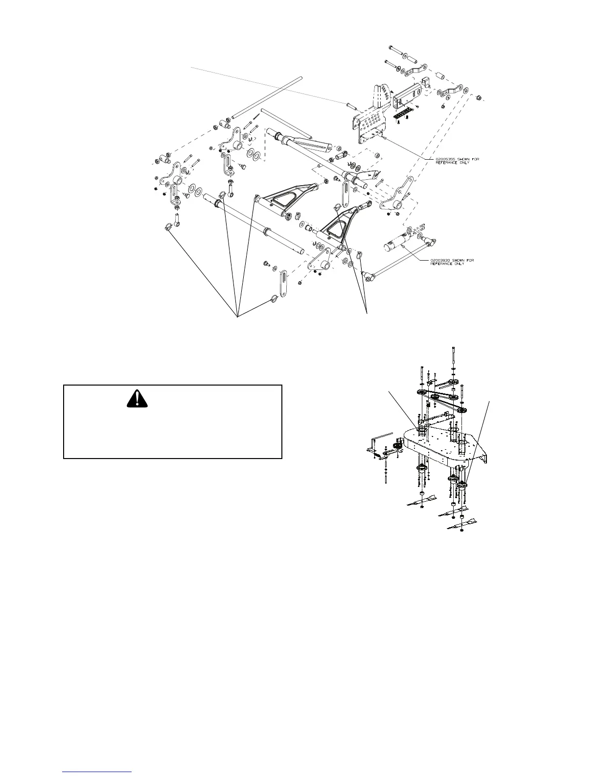
e. Remove six linchpins (See Fig. 9) (4) from the
deck and (2) from the front of the mower.
Remove the linchpins on the left and right rear
side of the cutter deck (2); remove the linchpins
on the left and right front side of the cutter deck
(2); and remove the linchpins on the front of the
mower (2).
f. Turn front wheels as if to make a pivot turn.
g. Shift the deck toward the operators left side of
the mower and remove.
h. To install reverse the process.
2. Changing a Blade:
a. Remove the Key from the ignition and disconnect
the spark plug.
b. Jack up the front of the mowing deck about one
foot and block it in that position.
c. Wrap a rag around one end of the blade and grasp
it to prevent it from turning, or secure the blade
by placing a block of wood between the blade
and the deck housing.
d. Use a 1-1/8" socket wrench on the pulley side of
the spindle to secure.
e. Remove the hex nut using a 1-1/8" wrench.
f. Remove the hex nut.
Linch Pins
Figure. 9
Linch Pins
Height of Cut Clevis Pin
Figure. 10
Cover
Plate
Spindle

Related product manuals