EasyManua.ls Logo

Daewoo D50S-2 - Page 57

Daewoo D50S-2
99 pages
Print Icon
To Next Page IconTo Next Page
To Next Page IconTo Next Page
To Previous Page IconTo Previous Page
To Previous Page IconTo Previous Page
Loading...
- 53 -
¥
Grinding Limit of Crankshaft
Use the undersize bearing (0.25, 0.5 mm) when the
main bearing clearance was in excess of limit.
Regrind the crank shaft in comply with below standard
if undersize bearing is used.
Use the undersize bearing (0.25, 0.5mm) when the
connecting rod bearing clearance was in excess of
limit.
Regrind the crank shaft if undersize bearing is used.
¥
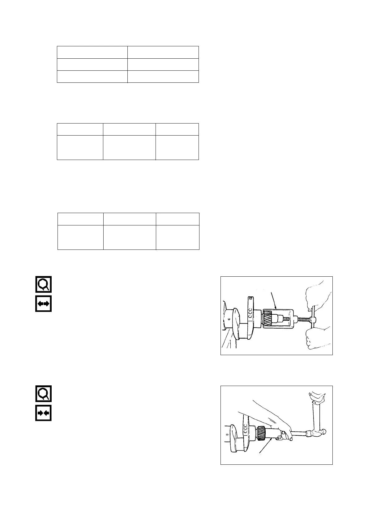
Crank Shaft Gear
1) Disassemble the crank shaft gear with a crank
shaft remover.
Visually inspect the crankshaft gear.
Replace the crankshaft gear if excessive wear or
damage is discovered.
2) Use installer for installation when installing crank
shaft gear.
EJM2097S
EJM2098S
Classification Limit
Crank Jouranl Outside Diameter
79.405 mm
Crank pin Outside Diameter
63.424mm
Standard Limit
Main Bearing
0.039-0.098 mm 0.11 mm
Clearance
Standard Limit
0.03-0.07 mm 0.10 mm
Remover
Installer
Connecting Rod
Bearing
Clearance

Related product manuals