EasyManua.ls Logo

Daikin 4MXL-T Series

Daikin 4MXL-T Series
299 pages
To Next Page IconTo Next Page
To Next Page IconTo Next Page
To Previous Page IconTo Previous Page
To Previous Page IconTo Previous Page
Loading...
Field Settings SiUS121827E
264 Part 7 Trial Operation and Field Settings
BRC082A43, BRC082A41W, BRC082A42W(S) Wireless Remote Controller
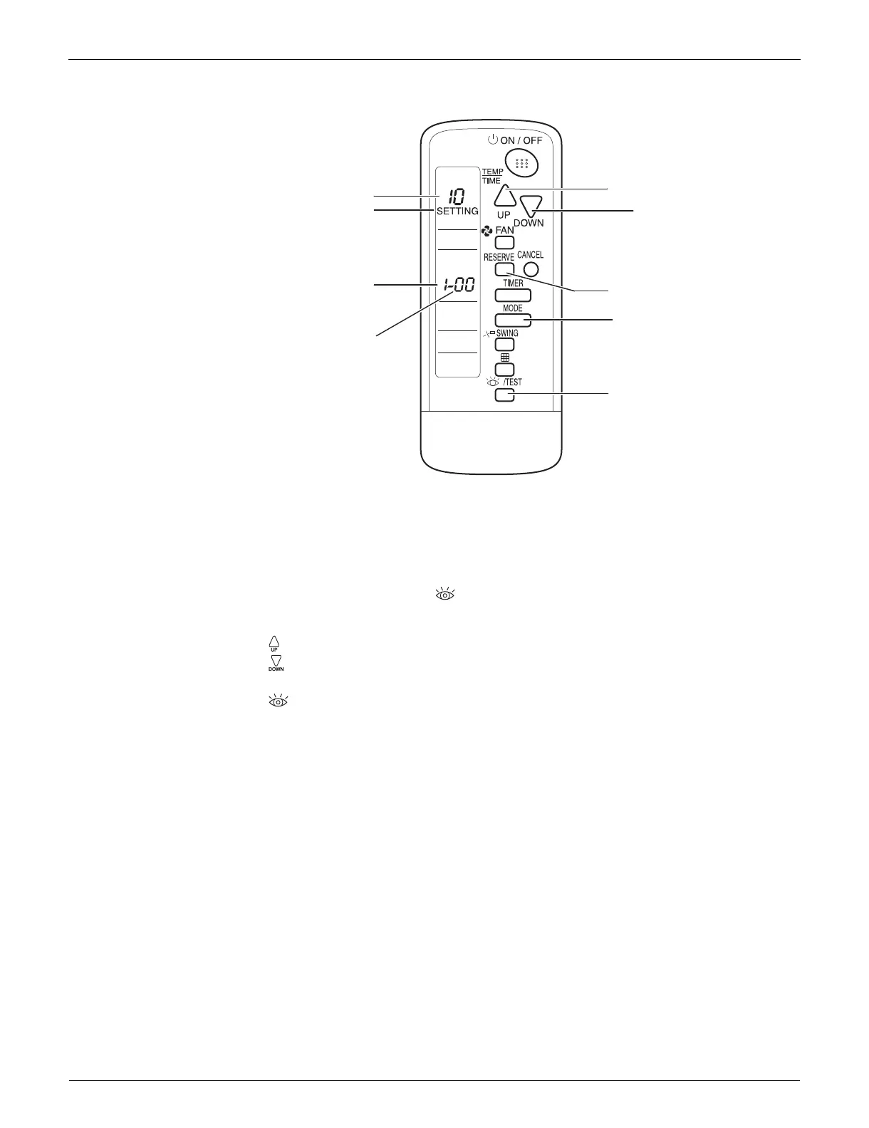
To set the field settings, you have to change:
Mode No.
First code No.
Second code No.
1. When in normal mode, hold down /TEST button for at least 4 seconds to enter the Field
Set mode.
2. Select the desired Mode No. with MODE button.
3. Press button and select the First code No.
4. Press button and select the Second code No.
5. Press RESERVE button to confirm the settings.
6. Press /TEST button to quit the Field Set mode and to return to normal display again.
RESERVE button
Mode No.
Field setting mode
UP button
DOWN button
First code No.
Second code No.
MODE button
(R24061)
INSPECTION/TEST
button

Table of Contents

Related product manuals