EasyManua.ls Logo

Daikin Advanced plus - Page 176

Daikin Advanced plus
Print Icon
To Next Page IconTo Next Page
To Next Page IconTo Next Page
To Previous Page IconTo Previous Page
To Previous Page IconTo Previous Page
Loading...
10
FWEC3
Advanced plus electr
onic controller
FC66002765
   
   3 
   4 
2.  
         
     3   
.        
   :
  :     
  ,      
     
-    :
      ,  
     ,  
 -       
    .

         
 
        
   .

    ,    
       Sel

    ,     ,
        
.
.:      
 .
 .
 .
 .
.:    ,  
     (,
,   )    
 .
.:         
    (  ),  
   Fan
  , 
      .
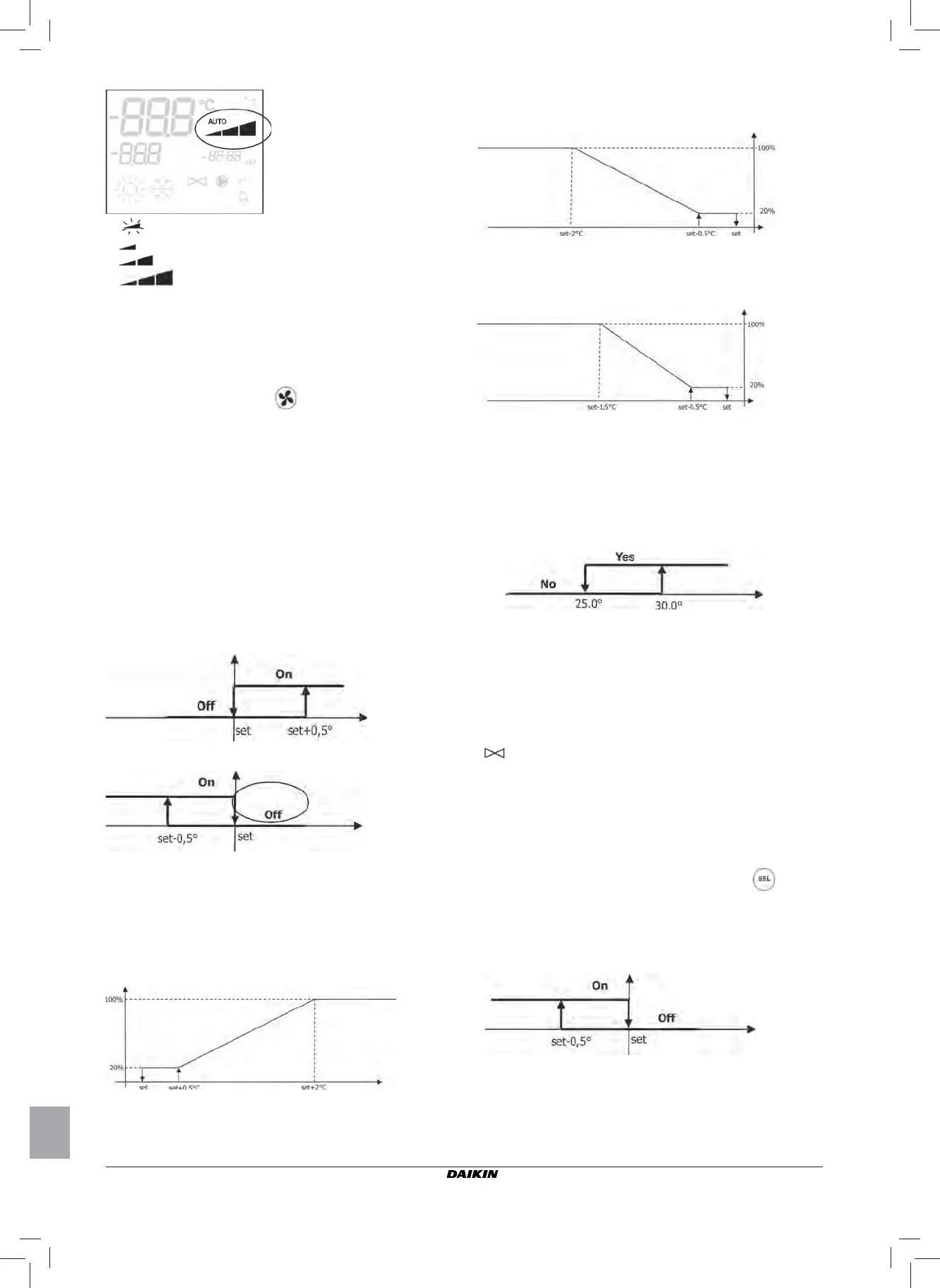

      2  3 , 
ON/OFF (.     )  
(      0%  100%). 
   ,    
  P14 (   )  
      ,  
       .
1.
A.  ON/OFF
        SET  
   
B.  
        SET 
    .     
   .

. 
. 




 (%)
 (%)




 (%)


. 

Related product manuals