EasyManua.ls Logo

Daikin AGZ065E - Page 19

Daikin AGZ065E
112 pages
To Next Page IconTo Next Page
To Next Page IconTo Next Page
To Previous Page IconTo Previous Page
To Previous Page IconTo Previous Page
Loading...
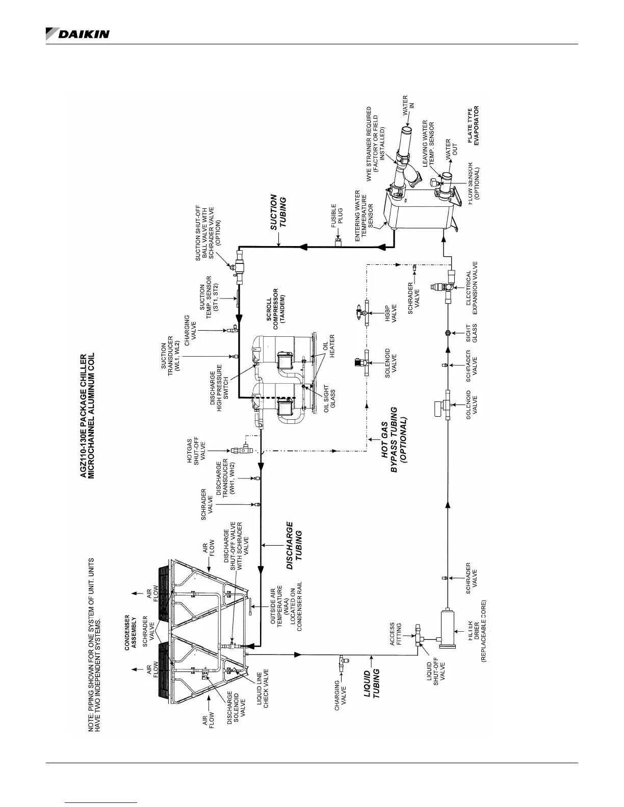
refrIgeranT sChemaTICs
www.DaikinApplied.com 17 IOM 1206-7 • TRAILBLAZER
MODEL AGZ CHILLERS
Figure 28: AGZ110-130E Package Chiller with Microchannel

Related product manuals