EasyManua.ls Logo

Daikin AGZ065E - Page 20

Daikin AGZ065E
112 pages
To Next Page IconTo Next Page
To Next Page IconTo Next Page
To Previous Page IconTo Previous Page
To Previous Page IconTo Previous Page
Loading...
IOM 1206-7 • TRAILBLAZER
MODEL AGZ CHILLERS 18 www.DaikinApplied.com
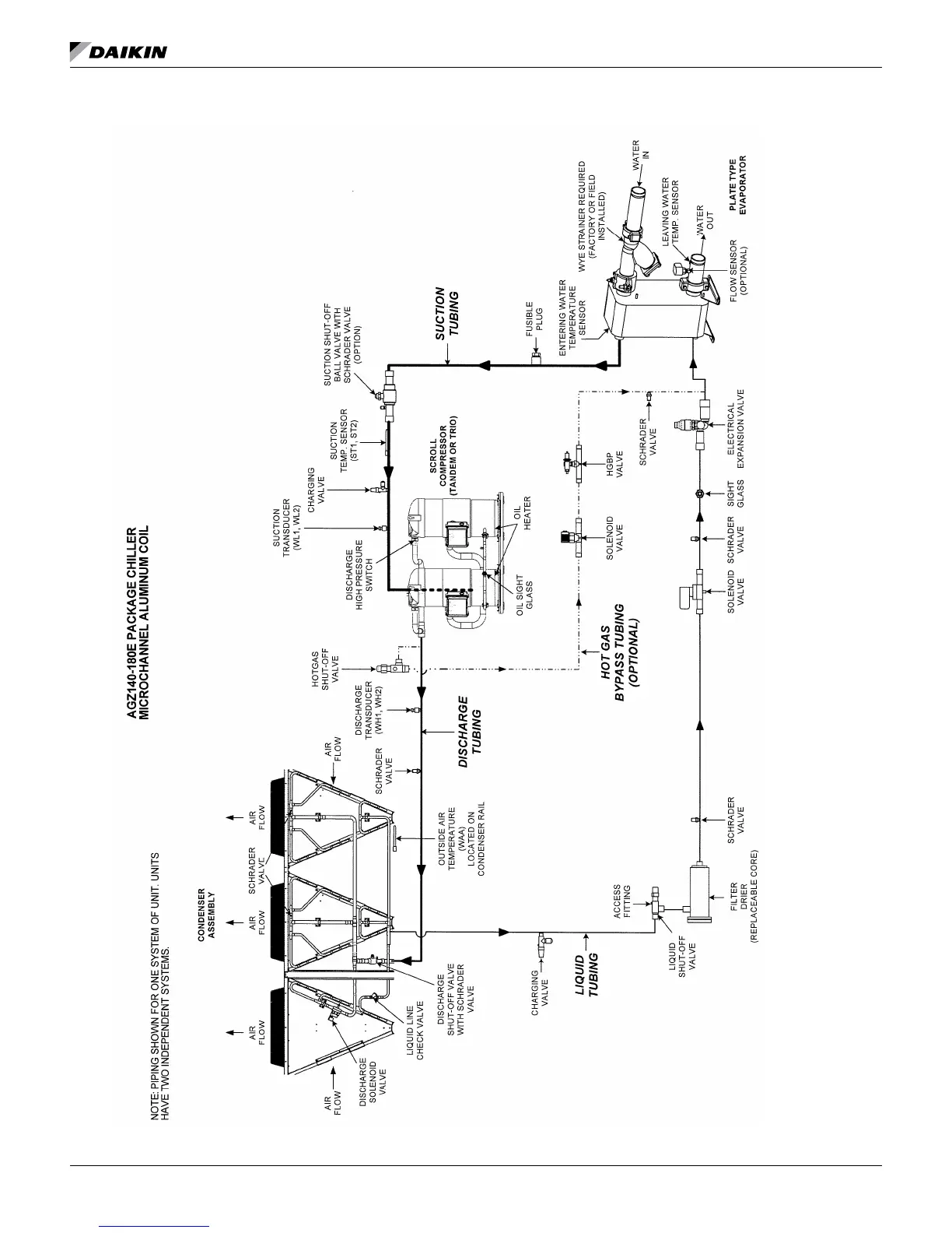
refrIgeranT sChemaTICs
Figure 29: AGZ140-180E Package Chiller with Microchannel

Related product manuals