EasyManua.ls Logo

Daikin AGZ075E - Dimensions and Weights - Packaged Units

Daikin AGZ075E
112 pages
Print Icon
To Next Page IconTo Next Page
To Next Page IconTo Next Page
To Previous Page IconTo Previous Page
To Previous Page IconTo Previous Page
Loading...
IOM 1206-7 • TRAILBLAZER
MODEL AGZ CHILLERS 18 www.DaikinApplied.com
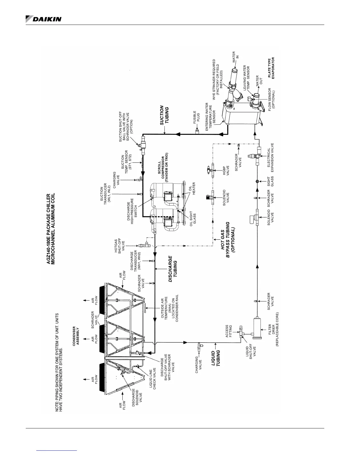
refrIgeranT sChemaTICs
Figure 29: AGZ140-180E Package Chiller with Microchannel