EasyManua.ls Logo

Daikin AGZ075E - Electrical Data

Daikin AGZ075E
112 pages
Print Icon
To Next Page IconTo Next Page
To Next Page IconTo Next Page
To Previous Page IconTo Previous Page
To Previous Page IconTo Previous Page
Loading...
eleCTrICal daTa
www.DaikinApplied.com 35 IOM 1206-7 • TRAILBLAZER
MODEL AGZ CHILLERS
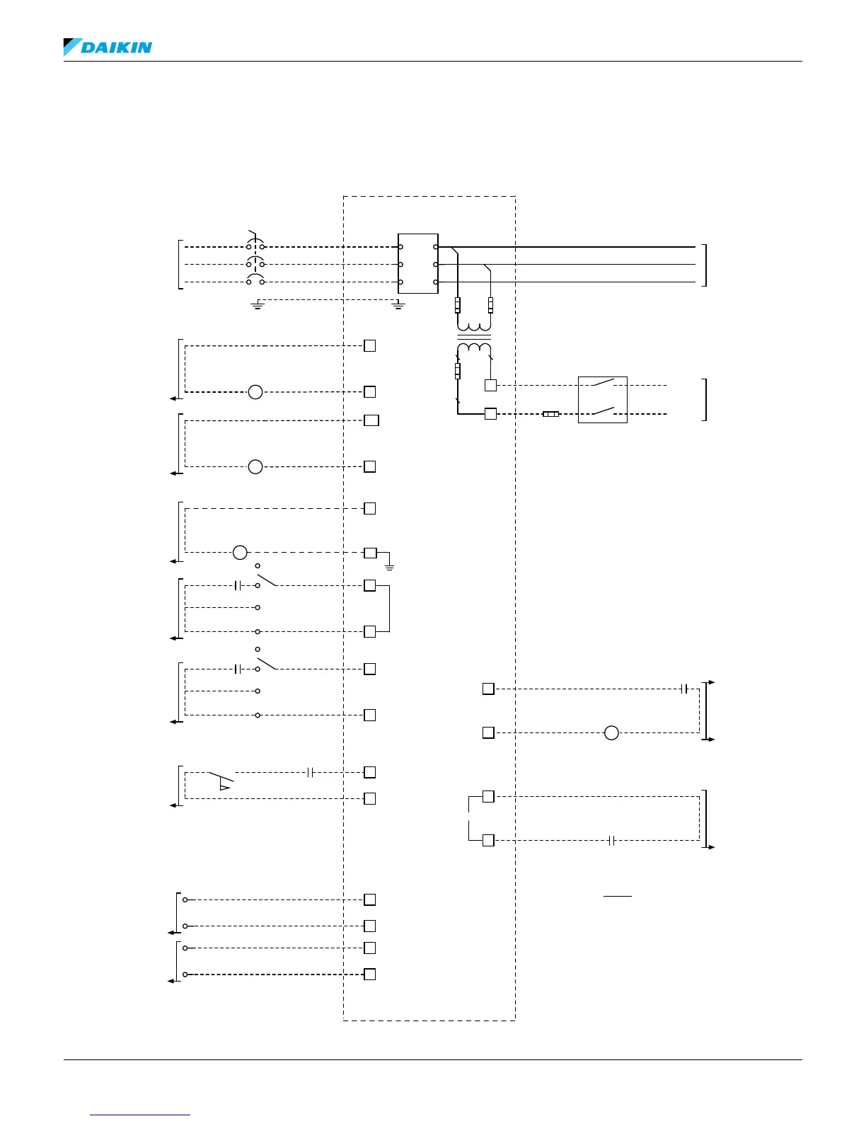
Figure 44: Typical Field Wiring Diagram (Single-Point Connection)
NOCOM
BELL
4-20MA FOR
DEMAND LIMIT
(BY OTHERS)
4-20MA FOR
EVAP. - LWT RESET
(BY OTHERS)
DOUBLE SET POINT/MODE
SWITCH
(BY OTHERS)
TIME
CLOCK
OFF
MANUAL
ON
AUTO
585
IF REMOTE STOP
CONTROL IS USED
REMOVE LEAD 585
FROM TERM
TB2-52 TO TB2-72
TIME CLOCK
OFF
MANUAL
ON
AUTO
71
TB2
70
TB2
69
TB2
68
TB2
TB1
22
TB1
1A
TO
COMPRESSOR(S)
AND FAN MOTORS
ALARM BELL
RELAY
120
VAC
FU5
T1
FU6
CONTROL CIRCUIT
FUSE
SEE NOTE 2
FU4
REMOTE
STOP SWITCH
(BY OTHERS)
TB2
TB2
43
83
UNIT ALARM
120 VAC
TB1
TB1
TB2
TB2
TB2
TB2
54
52
34
74
72
32A
ALARM
BELL OPTION
3 PHASE
POWER
SOURCE
DISCONNECT SWITCH
OR
POWER BLOCK
CIRCUIT BREAKER
(BY OTHERS)
1 2
TB2
TB2
45
67
EXTERNAL
ALARM/
EVENT
DISCONNECT
(BY OTHERS)
N
120 VAC
OPTIONAL
FIELD SUPPLIED
CONTROL POWER
FU
15A for 1.5 KVA
30A for 3.0KVA
(BY OTHERS)
Notes:
1.) ALL FIELD WIRING TO BE INSTALLED AS
NEC CLASS 1 WIRING SYSTEM WITH
CONDUCTOR RATED 600 VOLTS.
2.) IF FIELD SUPPLIED, CONTROL POWER USER
MUST REMOVE FU6, AND WIRE NUMBERS
299, 301A INSIDE CONTROL PANEL
3.) ** = USE 'DRY CONTACTS' ONLY
4.) DO NOT SUPPLY FIELD POWER TO
24VAC OR 120VAC CONTROL CIRCUITS.
301A
301 299
ABR
555A
IF EXTERNAL
ALARM/EVENT
IS USED
REMOVE LEAD 555A
FROM TERM
TB2-45 TO TB2-67
N
24 VAC
FIELD WIRING DIAGRAM
WITH MICROTECH CONTROLLER
ALARM BELL RELAY
120VAC @ 1.0AMP MAX
EARTH
GROUND
ABR
**
**
**
24VAC @ 0.4AMP MAX.
**
**
**
CHW FLOW SWITCH
-MANDATORY-
(BY OTHERS)
NOR. OPEN PUMP
AUX. CONTACTS
(OPTIONAL)
61
TB2
TB2
44
**
**
N
120 VAC
TB1
TB1
CHWR1
PUMP NO.1 RELAY
(BY OTHERS)
120VAC @ 1.0AMP MAX
35
33
CHWR2
PUMP NO.2 RELAY
(BY OTHERS)
120VAC @ 1.0AMP MAX
N
120 VAC
TB1
TB1
P2+
31
_
+
_
+
GND
(317)
T3
T2
T1
L3
L2
L1
PANEL
/(655)
/(652)
/(645)
/(637)
/(629)
/(225)
/
(235)
(630)
/(542)
/(649)
/(626)
/(714)
eleCTrICal daTa

Related product manuals