EasyManua.ls Logo

Daikin BRC1E52B7 - Page 8

Daikin BRC1E52B7
28 pages
Print Icon
To Next Page IconTo Next Page
To Next Page IconTo Next Page
To Previous Page IconTo Previous Page
To Previous Page IconTo Previous Page
Loading...
Installation manual BRC1E52B7
7
4PW72364-1 – 11.2011
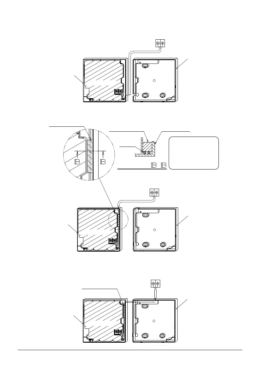
3-5-2 Left outlet
PC-board
Lower case
Upper case
Indoor unit
P1P2
3-5-3 Upper outlet
Install attached
wiring retainer to
prevent wiring pinch
according to left
figure.
PC-board
Indoor unit
Wiring retainer
Wiring retainer
Upper case
Lower case
Upper case
Wiring
Cross-section -
P1P2
3-5-4 Upper center outlet
PC-board
Indoor unit
Wiring retainer
Upper case
Lower case
P1P2

Related product manuals