EasyManua.ls Logo

Daikin J-Series - Outdoor Unit

Daikin J-Series
268 pages
Print Icon
To Next Page IconTo Next Page
To Next Page IconTo Next Page
To Previous Page IconTo Previous Page
To Previous Page IconTo Previous Page
Loading...
SiBE041101 Piping Diagrams
Appendix 250
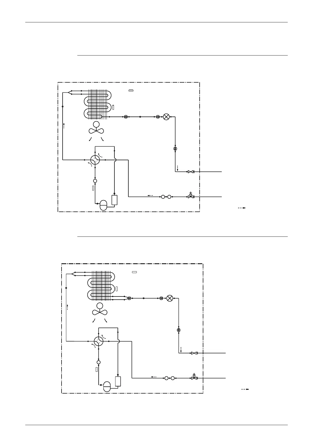
1.2 Outdoor Unit
1.2.1 Cooling Only
RKS20J2V1B
RKS25/35J2V1B
9.5CuT
7.0CuT
(6.4CuT)
9.5CuT
6.4CuT
7.0CuT
ACCUMULATOR
FIELD PIPING
9.5CuT
7.9CuT
(9.5CuT)
MUFFLERMUFFLER
9.5CuT
7.0CuT
HEAT EXCHANGER
6.4CuT
M
COOLING
OUTDOOR UNIT
MUFFLER
COMPRESSOR
9.5CuT
PROPELLER FAN
FIELD PIPING
6.4CuT
REFRIGERANT FLOW
7.9CuT
9.5CuT
φ.4.0×ID. 2.0CuT
OUTDOOR TEMPERATURE
THERMISTOR
HEAT EXCHANGER
THERMISTOR
MOTOR OPERATED
VALVE
MUFFLER
WITH
FILTER
MUFFLER
WITH
FILTER
MUFFLER
WITH
FILTER
LIQUID STOP
VALVE
GAS STOP
VALVE
FOUR WAY
VALVE
NORMALLY:OFF
DISCHARGE PIPE
THERMISTOR
3D059588B
9.5CuT
MUFFLER
COMPRESSOR
7.0CuT
9.5CuT
9.5CuT
HEAT EXCHANGER
REFRIGERANT FLOW
4.8CuT
(6.4CuT)
(9.5CuT)
PROPELLER FAN
M
FIELD PIPING
ACCUMULATOR
9.5CuT
6.4CuT
7.9CuT
6.4CuT
6.4CuT
FIELD PIPING
MUFFLER
7.0CuT
4.8CuT
OUTDOOR UNIT
COOLING
MUFFLER
9.5CuT
9.5CuT
7.9CuT
φ.4.0×ID. 2.0CuT
OUTDOOR TEMPERATURE
THERMISTOR
HEAT EXCHANGER
THERMISTOR
MOTOR OPERATED
VALVE
MUFFLER
WITH
FILTER
MUFFLER
WITH
FILTER
MUFFLER
WITH
FILTER
LIQUID STOP
VALVE
GAS STOP
VALVE
FOUR WAY
VALVE
NORMALLY:OFF
DISCHARGE PIPE
THERMISTOR
3D059589E

Table of Contents

Other manuals for Daikin J-Series

Related product manuals