EasyManua.ls Logo

Daikin RXQ8PY1 - Page 104

Daikin RXQ8PY1
355 pages
Print Icon
To Next Page IconTo Next Page
To Next Page IconTo Next Page
To Previous Page IconTo Previous Page
To Previous Page IconTo Previous Page
Loading...
Test Operation SiEN34-705
98 General Information
BRC7C Type
BRC7E Type
BRC4C Type
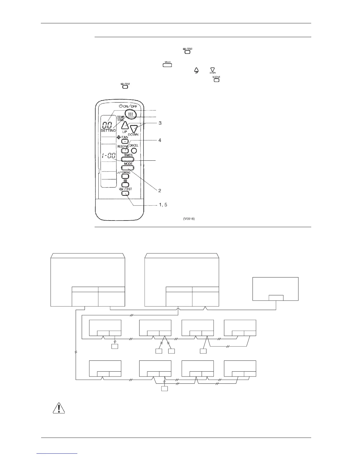
! Group No. setting by infrared remote control for centralized control
1. When in the normal mode, push “ ” button for 4 seconds or more, and operation then
enters the “field set mode.”
2. Set mode No. “00” with “ ” button.
3. Set the group No. for each group with “ ” “ ” button (advance/backward).
4. Enter the selected group numbers by pushing “ ” button.
5. Push “ ” button and return to the normal mode.
Group No. Setting
Example
Caution When turning the power supply on, the unit may often not accept any operation while "88" is
displaying after all indications were displayed once for about 1 minute on the liquid crystal
display. This is not an operative fault.
Mode No.
Field set mode
Group no.
Centoral Remote
Control
F1 F2
F1 F2 F1 F2
F1 F2
P1 P2
RC
RC
RC RC RC
F1 F2 P1 P2 F1 F2 P1 P2 F1 F2 P1 P2
F1 F2 P1 P2 F1 F2 P1 P2 F1 F2 P1 P2 F1 F2 P1 P2
No Remote Controller
1-03
1-00
1-01
Main Sub
1-02
1-04
Indoor/Outdoor
Outdoor/Outdoor
F1 F2 F1 F2
Indoor/Outdoor
Outdoor/Outdoor
(V0917)
Group Control by Remote Control
(automatic unit address)

Table of Contents

Related product manuals