EasyManua.ls Logo

Daikin RXQ8PY1 - Page 249

Daikin RXQ8PY1
355 pages
Print Icon
To Next Page IconTo Next Page
To Next Page IconTo Next Page
To Previous Page IconTo Previous Page
To Previous Page IconTo Previous Page
Loading...
SiEN34-705 Heat Pump / Cooling Only 50Hz (RX(Y)Q5~54P)
Installation Manual 243
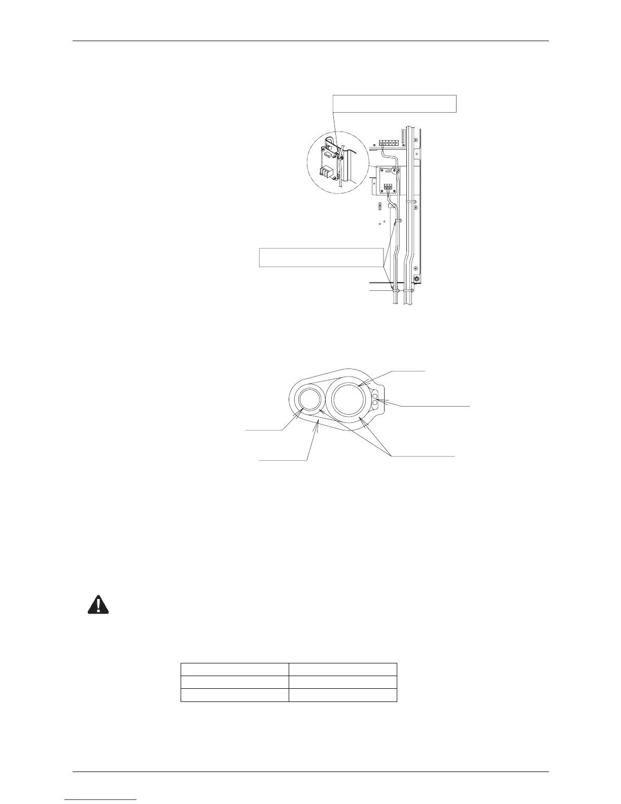
! The transmission wiring inside the EL.COMPO.BOX should be secured using the clamp (1)
as shown in figure 24.
! Outside the units, the transmission wiring must be finished simultaneously with the local
refrigerant piping, and wound with tape (field supply) as shown in figure 25.
! For multi system:
1. Transmission wiring between outdoor units in the same piping system must be
connected to terminals Q1 and Q2 (TO MULTI UNIT).
Connecting the wires to the F1, F2 (TO OUT/D UNIT) terminals results in system
malfunction.
2. Wiring to other systems should be connected to terminals F1 and F2 (TO OUT/D UNIT)
on the PC-board of the master unit. The outdoor unit that connected transmission wiring
to indoor unit is the master unit. The others are sub unit.
Caution: ! Do not connect the power wiring to terminals for the transmission wiring. Doing so would
destroy the entire system.
! When connecting wires to the terminal block on the PC-board, too much heat or tightening
could damage the PC-board. Attach with care.
See the table below for the tightening torque of the transmission wiring terminals.
1.7.5 Power Wiring Connection Procedure
Be sure to connect the power supply wiring to the power supply terminal block and hold it in
place using the included clamp as shown in the figure 26.
(A1P)
(A5P)
(A5P)
figure 24
In the EL.COMPO.BOX
Retain to the EL.COMPO.BOX with
the accessory clamp (1).
Retain to the EL.COMPO.BOX with
the accessory clamp (1).
Liquid pipe
Finishing tape
Insulation material
Transmission wiring
Gas pipe
figure 25
Screw size Tightening torque (N · m)
M3 (A5P) 0.53 - 0.63
M3.5 (A1P) 0.80 - 0.96

Table of Contents

Related product manuals