EasyManua.ls Logo

Daikin RXQ8PY1 - Page 295

Daikin RXQ8PY1
355 pages
Print Icon
To Next Page IconTo Next Page
To Next Page IconTo Next Page
To Previous Page IconTo Previous Page
To Previous Page IconTo Previous Page
Loading...
Heat Pump 60Hz (RXYQ5~54P) SiEN34-705
288 Installation Manual
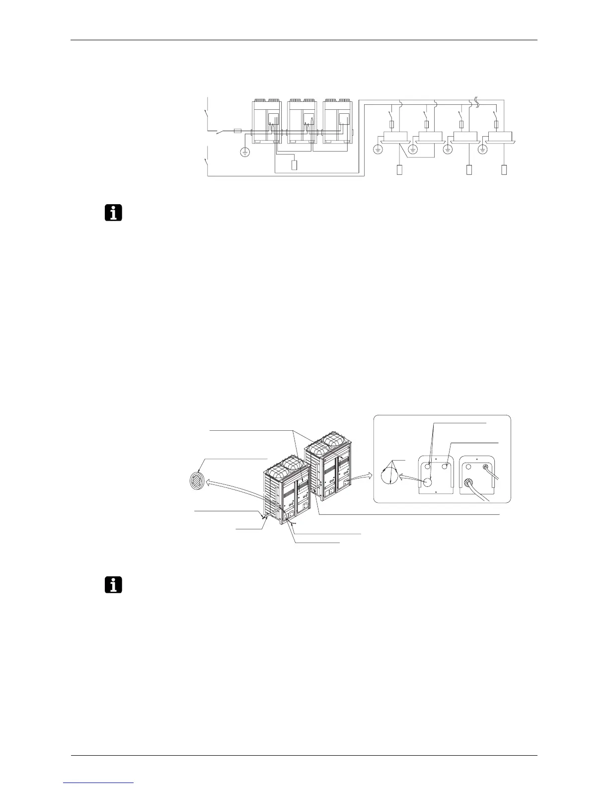
2.7.2 Wiring Connection Example for Whole System
Note: ! Make sure the weak electric wiring (i.e. for the remote control, between units, etc.) and the
power wiring do not pass near each other, keeping them at least 50 mm apart.
Proximity may cause electrical interference, malfunctions, and breakage.
! Be sure to connect the power wiring to the power wiring terminal block and secure it as
described in “2-7-5 Power Wiring Connection Procedure”.
! Transmission wiring should be secured as described in “2-7-4 Transmission Wiring
Connection Procedure”.
! Secure wiring with clamp such as insulation lock ties to avoid contact with piping.
! Shape the wires to prevent the structure such as the EL. COMPO. BOX lid deforming. And
close the cover firmly.
! 5HP type can not compose multi system.
2.7.3 Leading wire Procedure
! The power wiring and ground wiring are passed out from the power wiring hole on the sides,
the front (knock hole) or the bottom frame (knock hole) .
! The transmission wiring is passed out from the wiring hole (knock hole) on the front of the
unit or from a piping hole.
Note: ! Open the knock holes with a hammer or the like.
! After knocking out the holes, we recommend you remove any burrs and paint them using the
repair paint to prevent rusting.
! When passing wiring through the knock holes, remove burrs around the knock holes and
protect the wiring with protective tape. (Refer to figure 20)
! If small animals might enter the unit, block off any gaps (hatching parts in figure 20) with
material (field supply).
figure 19
Power supply
Main switch
Outdoor unit
Fuse
Main switch
Fuse
Indoor unit
Earth leakage
circuit breaker
Power
supply
COOL/HEAT selector
Earth leakage
circuit breaker
Remote
control
figure 20
Electrical wiring diagram
Conduit
Transmission wiring
Power wiring, ground wiring (inside conduit)
Burr
Knockout hole
Knockout hole
(When the wiring is routed out through the side panel.)
Pipe opening
Through cover
On the back of the
EL .COMPO. BOX lid.
Cut off the shaded
zones before use.
For power wiring
and ground wiring
For transmission
wiring
For power wiring
and ground wiring

Table of Contents