EasyManua.ls Logo

Daikin RXQ8PY1 - Page 59

Daikin RXQ8PY1
355 pages
Print Icon
To Next Page IconTo Next Page
To Next Page IconTo Next Page
To Previous Page IconTo Previous Page
To Previous Page IconTo Previous Page
Loading...
SiEN34-705 Installation
General Information 53
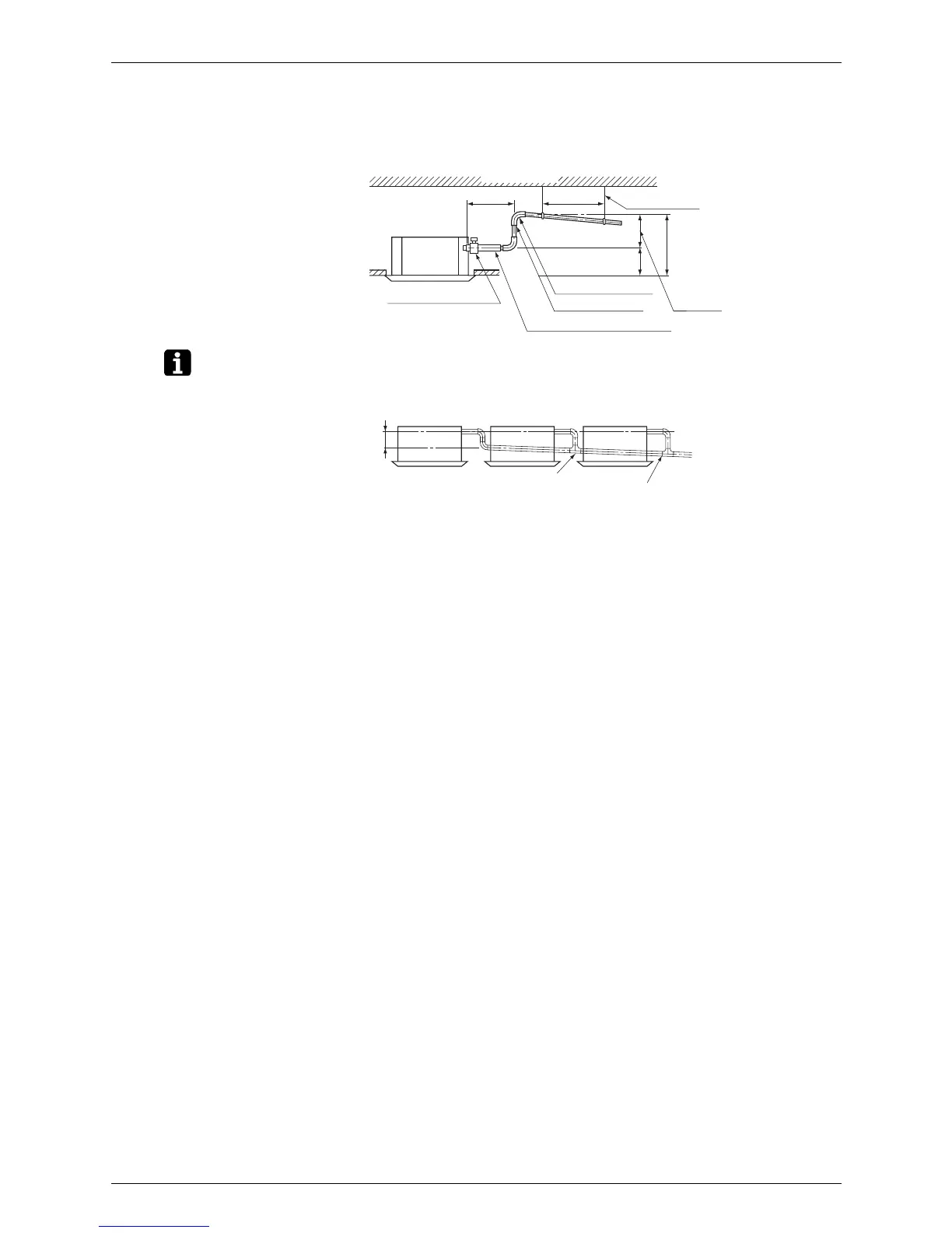
<PRECAUTIONS FOR DRAIN RAISING PIPING>
! Install the drain raising pipes at a height of less than 550 mm.
! Install the drain raising pipes at a right angle to the indoor unit and no more than 300 mm
from the unit.
Note: ! To ensure no excessive pressure is applied to the included drain hose (1), do not bend or
twist when installing. (This may cause leakage.)
! If converging multiple drain pipes, install according to the procedure shown below.
Select converging drain pipes whose gauge is suitable for the operating capacity of the unit.
Ceiling slab
Drain raising pipe
(mm)
750
Hanger bracket
1 – 1.5 m
300 mm
200
Fig. 22
Adjustable
(
550)
Metal clamp (2)
(
accessory
)
Raising section
Drain hose (accessory) (1)
100 mm
Fig. 23
Slope downwards
at a gradient
of at least 1/100
T-joint converging drain pipes

Table of Contents