EasyManua.ls Logo

Daikin Ururu - Water Tank Setup

Daikin Ururu
47 pages
Print Icon
To Next Page IconTo Next Page
To Next Page IconTo Next Page
To Previous Page IconTo Previous Page
To Previous Page IconTo Previous Page
Loading...
17
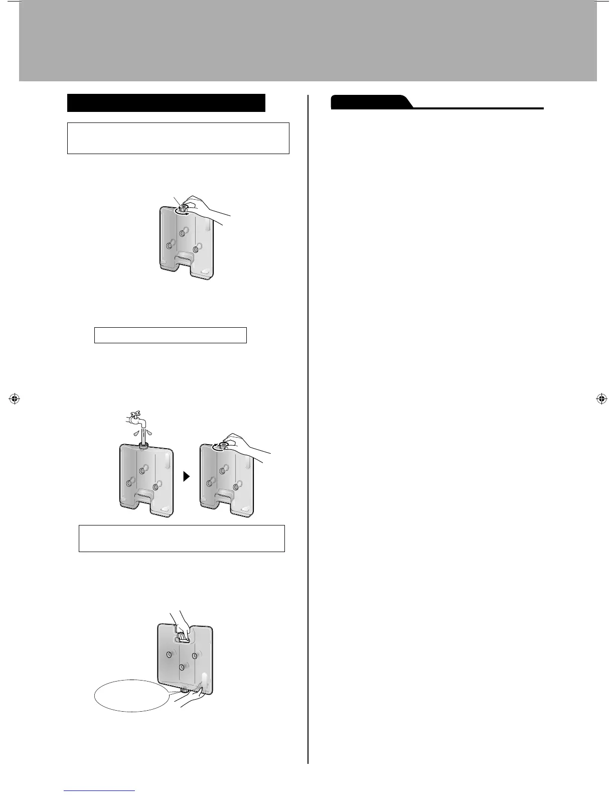
Подготовка емкости с водой
Очистка воздуха может производиться
даже без воды в емкости.
1
Откройте пробку на емкости с водой.
Пробку
2
Добавьте воду в емкость и закройте
пробку.
Используйте только водопроводную воду.
Добавляйте воду в таком месте, где допустимо
намокание в случае разбрызгивания.
Перед добавлением воды, которая будет
использоваться для увлажнения, добавьте в емкость
небольшое количество воды, встряхните, чтобы
сполоснуть ее внутри, и вылейте воду.
Плотно закройте пробку емкости с водой.
Если она не будет плотно закрыта, вода может вытечь.
Удерживайте полную емкость с водой за ручку для
переноски.
Не трогайте клапан в центре крышки.
Вода может пролиться из емкости.
Не трогайте
клапан в центре
крышки.
ПРИМЕЧАНИЕ
Не добавляйте в емкость с водой следующее.
Горячую воду с температурой 40°C или выше,
ароматические масла, химические вещества, грязную воду,
воду, содержащую ароматизаторы или растворители и т.п.
Использование подобных жидкостей может привести к
деформации или повреждению данного блока.
Дистиллированную воду, воду с ионами щелочи,
минеральную воду, колодезную воду и
т.п.
Использование этих типов воды может привести к
размножению плесени или бактерий.
Подготовка емкости с водой
09_RU_3P234570-1.indd 1709_RU_3P234570-1.indd 17 11/4/2008 6:15:53 PM11/4/2008 6:15:53 PM

Related product manuals