EasyManua.ls Logo

Daitsu DS-12KIDR - Refrigeration Cycle Diagram

Daitsu DS-12KIDR
89 pages
Print Icon
To Next Page IconTo Next Page
To Next Page IconTo Next Page
To Previous Page IconTo Previous Page
To Previous Page IconTo Previous Page
Loading...
Air Conditioner Service Manual
7
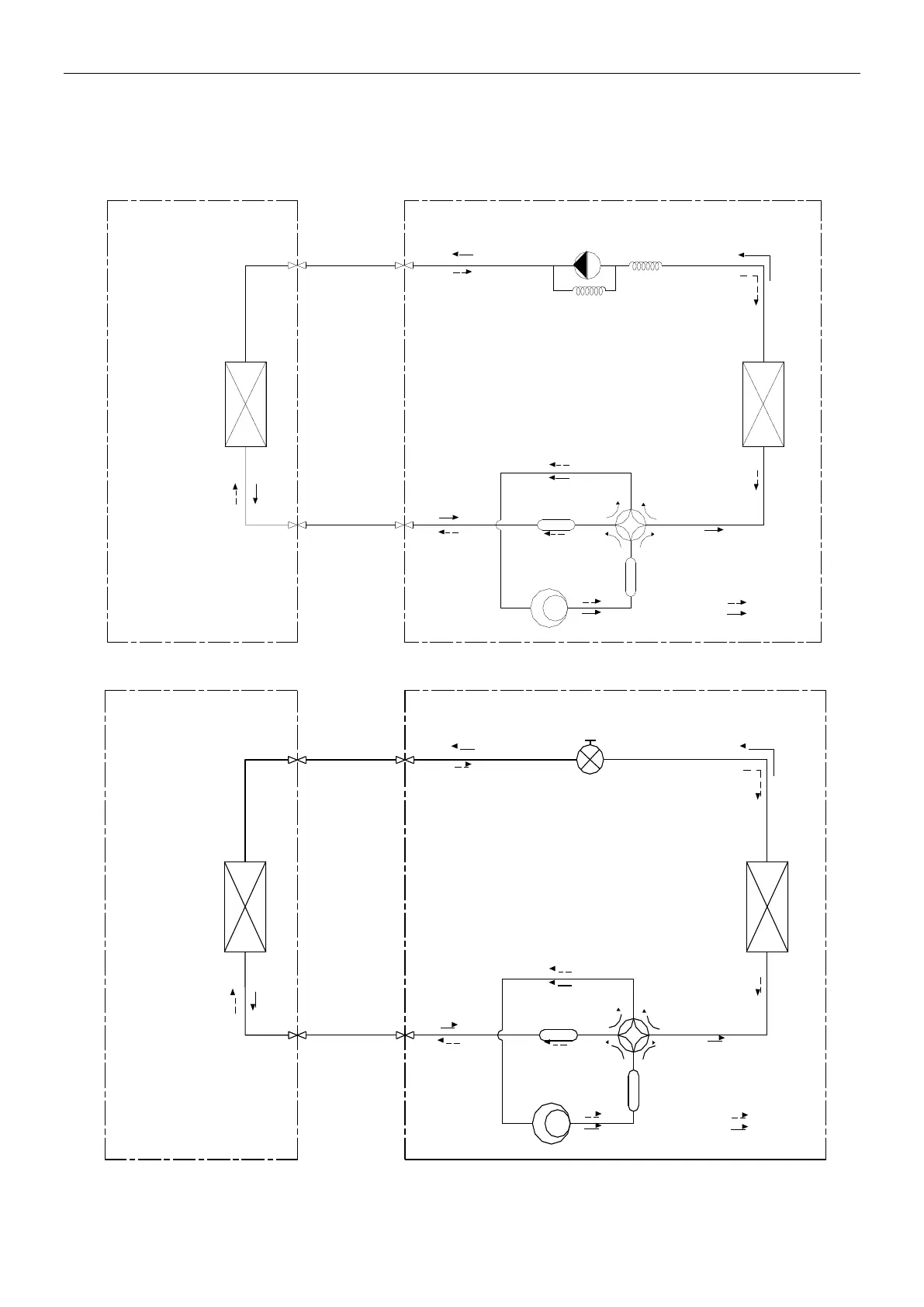
4. Refrigeration cycle diagram
Heat pump
9K,12K
Liquid side
2-way valve
Gas side
3-way valve
Compressor
4-way valve
Muffler
Muffler
Heat exchange
(Condenser)
Heat exchange
(Evaporator)
Check valve
Cooling
Heating
Capillary
18K,24K
Liquid side
2-way valve
Gas side
3-way valve
Compressor
4-way valve
Muffler
Muffler
Heat exchange
(Condenser)
Heat exchange
(Evaporator)
Electronic
expansion valve
Cooling
Heating

Table of Contents

Related product manuals