EasyManua.ls Logo

Danfoss ECL Comfort A260 - Page 2

Danfoss ECL Comfort A260
16 pages
Print Icon
To Next Page IconTo Next Page
To Next Page IconTo Next Page
To Previous Page IconTo Previous Page
To Previous Page IconTo Previous Page
Loading...
2
Mounting Guide ECL Comfort 210 / 310, A260
DEN-SMT/DK VI.LG.G2.00 Danfoss District Energy
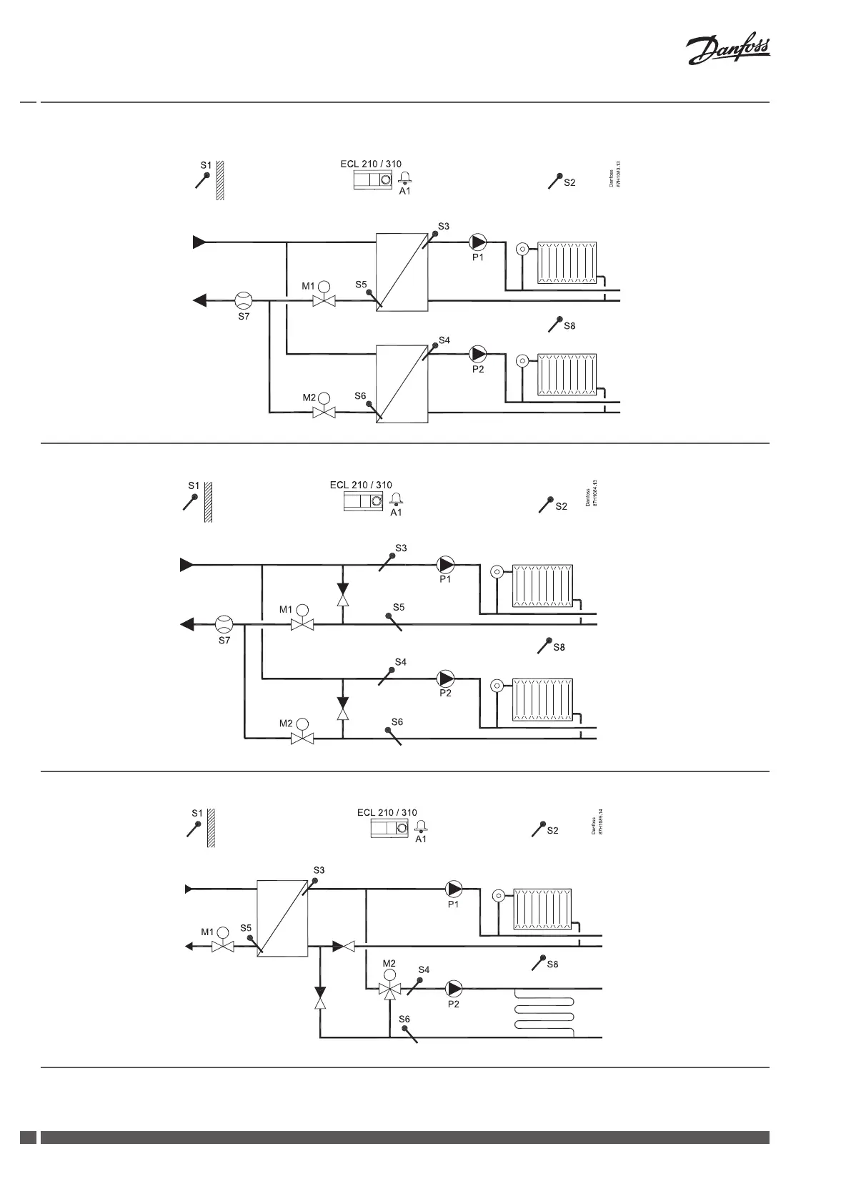
A260.1, ex. b:
A260.1, ex. c:
A260.1, ex. d:

Other manuals for Danfoss ECL Comfort A260

Related product manuals