EasyManua.ls Logo

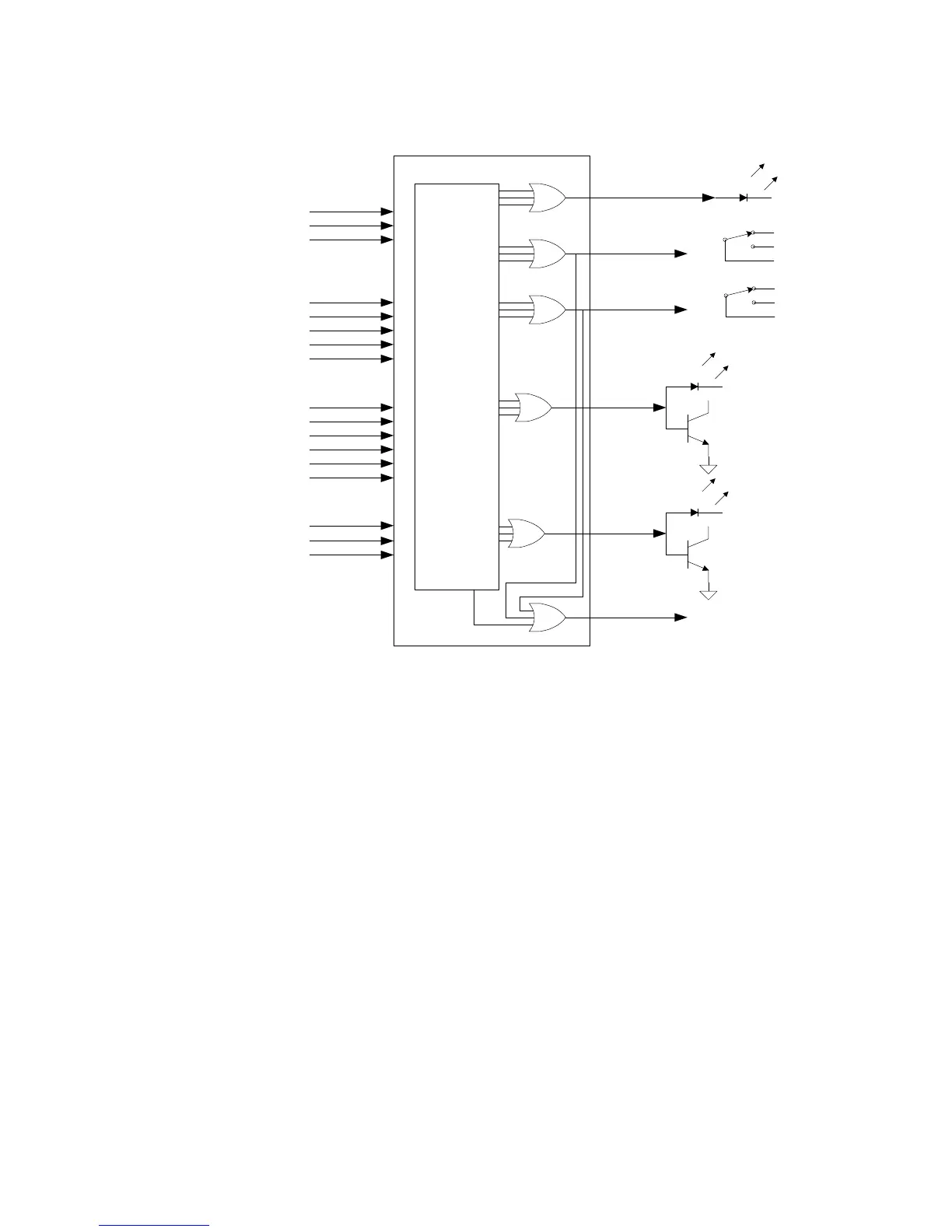
Datum Systems PSM-500 - Figure 2-3 - Alarm Processing

Datum Systems PSM-500
124 pages
Print Icon
To Next Page IconTo Next Page
To Next Page IconTo Next Page
To Previous Page IconTo Previous Page
To Previous Page IconTo Previous Page
Loading...
PSM-500/500L/500LT SCPC Satellite Modem Installation
PSM-500/500L/500LT - Rev. 0.91 Page 2-21
Individual Alarms Processing Matrix Outputs
Unit Alarms
Modulator Alarms
Demodulator Alarms
Interface Alarms
Reference
Test Active
Hardware
Carrier
Bit Clock
Test Active
Hardware
No Data
BER Loss
Test Active
Option Fail
Carrier Lock
Low Level
Low Eb/No
Test Active
Hardware
No Data
Summary Alarm
Alarm Relay A
Alarm Relay B
NC
NO
C
NC
NO
C
Front Panel
Front Panel
Data
Interface
Data
Interface
Redundancy
Switch Request
Selection
Logic
Modulator
Alarm
Demodulato
r Alarm
Figure 2-3 - Alarm Processing
There are also other possible alarm inputs depending on the modem options and configuration.
Each of the individual alarm inputs has a configuration selection parameter under the “Alarm”
column of its matrix. The general options available are to set the alarm to either be ignored or to
form one of the “OR” inputs to the A or B alarm relay or both. The default set-up for these alarms
is to have all the modulator related alarms assigned to Alarm A and all demodulator alarms
assigned to Alarm B. The two alarm relays could be changed to represent “Major” and “Minor”
alarms.
The open collector outputs for the modulator and demodulator alarms are available on the data
interface connector and are used by some types of redundancy switches for determining alarm
status. The modem’s built-in redundancy switch logic uses either all alarms or combinations of
the A and B alarms to activate a switch request.
A description of each of these settings is contained in Operations, Section 3.2 and Tables 3-5
through 3-8 later in this manual. A brief description of alarm configuration is also given here.
Possible alarm sources include the following items:
1. Unit Reference missing.
2. Unit Test Active.
3. Unit Hardware Fault.
4. Transmit Carrier Off.
5. Modulator Bit Rate Lock.

Table of Contents

Related product manuals