EasyManua.ls Logo

Davey VM Series - Page 11

Davey VM Series
28 pages
Print Icon
To Next Page IconTo Next Page
To Next Page IconTo Next Page
To Previous Page IconTo Previous Page
To Previous Page IconTo Previous Page
Loading...
11
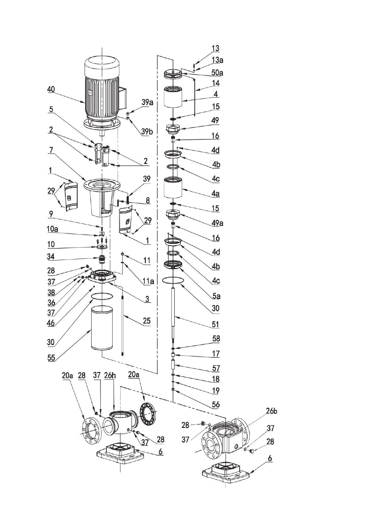
Drawing 1-F VM120,150,200
1. Coupling guard
2. Hex socket head screw
3. Pump head
4. Diffuser (Not for 1 stage pump)
4a. Support diffuser (Not for 1 or 2 stage pumps)
4b. Neck ring cover
4c. Neck ring
4d. Screw
5. Coupling
5a. Inducer
6. Baseplate
7. Bracket
8. Hex socket head screw
9. Hex socket head screw
10. Seal cover
11. Nut
11a. Flat washer
13. Socket hex cap screw
13a. Flat washer
14. Strap
15. Impeller nut
16. Impeller shaft sleeve
17. Shaft sleeve
18. Cover
19. Washer 14
20a. Flange
25. Staybolt
26h. Inlet & outlet chamber CDLF type
26b. Inlet & outlet chamber CDL type
28. Drainage gag
29. Screw
30. O-ring
34. Mechanical seal
36. Air vent nut
37. O-ring
38. Air vent screw
39. Screw
39a. Nut
39b. Washer
40. Motor
46. Adjusting rubber
49. Small impeller
49a. Impeller
49b. Ring for neck ring
50a. Top diffuser
51. Shaft
55. Cylinder
56. Fasten screw
57. Inlet impeller sleeve
58. Washer

Related product manuals