EasyManua.ls Logo

Dee Zee DZ 951550 - Initial Rack Assembly and Placement; Prepare Rack Components

Default Icon
14 pages
Print Icon
To Next Page IconTo Next Page
To Next Page IconTo Next Page
To Previous Page IconTo Previous Page
To Previous Page IconTo Previous Page
Loading...
WRENCH
UTILITY KNIFE OR SCISSORS
9/16"
7/32" ALLEN WRENCH OR SOCKET
RATCHET
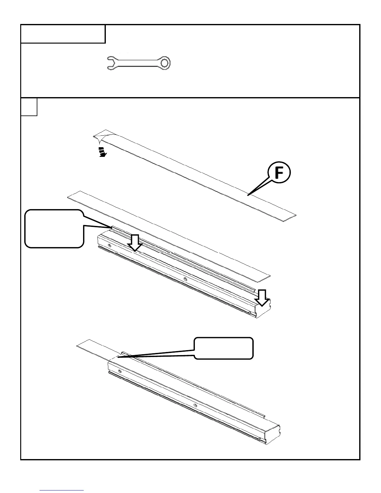
Peel a portion of the paper back from the adhesive on the foam gasket [F].
Apply the sticky side of the gasket to the bottom of the rack assemblies and bungee boxes (if applicable).
Use the lip on the bottom side as a guide to apply the gasket straight with the part.
TOOLS REQUIRED
1
ALIGN GASKET
WITH THIS
EDGE
After applying the gasket, use a utility knife to trim the gasket with the end of the part.
TRIM AT EDGE