EasyManua.ls Logo

DeLonghi DMFPSII - Page 11

DeLonghi DMFPSII
36 pages
Print Icon
To Next Page IconTo Next Page
To Next Page IconTo Next Page
To Previous Page IconTo Previous Page
To Previous Page IconTo Previous Page
Loading...
11
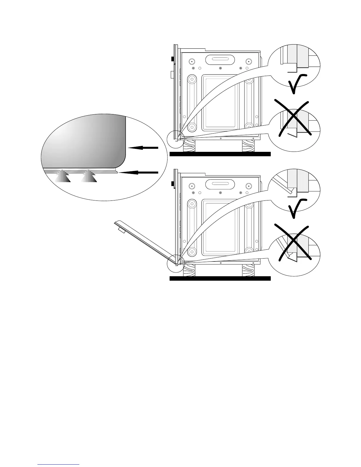
OVEN DOOR
LOWER TRIM
AIR FLOW
IMPORTANT:
Please take extra care not to damage the lower trim of the oven.
Ensure the oven sits on wooden blocks or similar supports when it is removed from
the carton as shown in above diagram. This will prevent any damage to the lower
trim.
Should the lower trim become damaged, straighten the trim and ensure the oven
door opens fully without obstruction from the lower trim.
After installation check the lower trim is still undamaged.
The space between the bottom of the door & the lower trim is important to allow
proper air circulation into the oven.
The oven door should be opened slowly to it’s fully open position ensuring there is
adequate clearance between the bottom of the door and the lower trim.
The manufacturer does not accept responsibility for any damage to the oven
resulting from incorrect installation.
Figure 10

Related product manuals