EasyManua.ls Logo

DeLonghi TRD50615E - Timer Functions; Anti-freeze Function; Timer Operation Mode; Changing Daily Timer Temperatures

DeLonghi TRD50615E
22 pages
Print Icon
To Next Page IconTo Next Page
To Next Page IconTo Next Page
To Previous Page IconTo Previous Page
To Previous Page IconTo Previous Page
Loading...
8
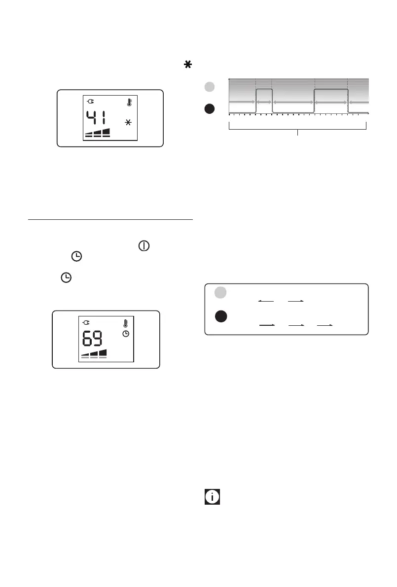
Anti-freeze function
This function is useful to prevent freezing.
To activate this function, turn power ON and turn the dial
counter clockwise till the set point 41 is displayed and a
will appear.
In this operation mode the working power can not be set.
The appliance will automatically set to Max power level.
If you turn the dial clockwise, you will restore the previous
power setting.
TIMER OPERATION MODE
In Timer operation mode the unit works according to a pre-
set. Daily timer program that can be altered to suit your
needs. Turn on the unit by pressing the (A) button and
then press the button to activate the timer operation
mode.
The symbol will appear on the display together with the
pre-set temperature and power level assigned to the current
time interval.
Daily Timer program
The daily timer program consists of a 24 hour timeline that
can be divided into 96 time intervals of 15 minutes each.
To each time interval it is possible to associate one of the 2
timer temperature settings , T1 or T2.
The time intervals and the temperatures T1 and T2 can be
changed to suit your needs.
Preset daily timer program
The default preset daily timer program is the following:
l T1= 69°F
l T2= heating o
426
8
10 12 14 16 18 20 22 0
(24)
0
69°F
O
T2 T2 T2
T1T1
Time intervals
T1
T2
Note:
the chart above is showing T2 from midnight to 5am,
T1 from 5am to 8am, T2 from 8am to 4pm, T1 from 4pm to
10pm, T2 from 10pm to midnight.
How to change the daily timer temperatures
It is possible to change the temperature settings for T1 and T2
to better suit your needs.
T1 is associated to Green light (l) and can be set at any
temperature from 50 to 83°F; T2 is associated to Red light
(l) and can be set from OFF to anti-freeze 41°F or to any
temperature from 50° to less than T1.
Min
50°F
Min
50°F
Max
less than T1
Max
83°F
Default
69°F
Default
O
Anti-frost
41°F
Red light
Green light
T1
T2
To change the timer temperature setting, with POWER ON:
1. Press the control dial.
2. The power level will blink.
3. Turn the dial till you see the clock icon blinking and press
the dial once.
4. A green light will appear in the display blinking. Turn
the dial to choose between green light (T1) or red light
(T2) and press the dial once to conrm.
5. The temperature digits will blink. Turn the dial to adjust
the temperature according to your needs and press the
dial to conrm.
6. The unit will exit the menu and the display will show
again the manual operation settings.
Please note:
Follow same 6 steps above to set the
other daily timer temperature not previously set.

Related product manuals