EasyManua.ls Logo

Delta Electronics ASDA-A2 Series - Page 189

Delta Electronics ASDA-A2 Series
583 pages
Print Icon
To Next Page IconTo Next Page
To Next Page IconTo Next Page
To Previous Page IconTo Previous Page
To Previous Page IconTo Previous Page
Loading...
Chapter 6 Control Modes of Operation
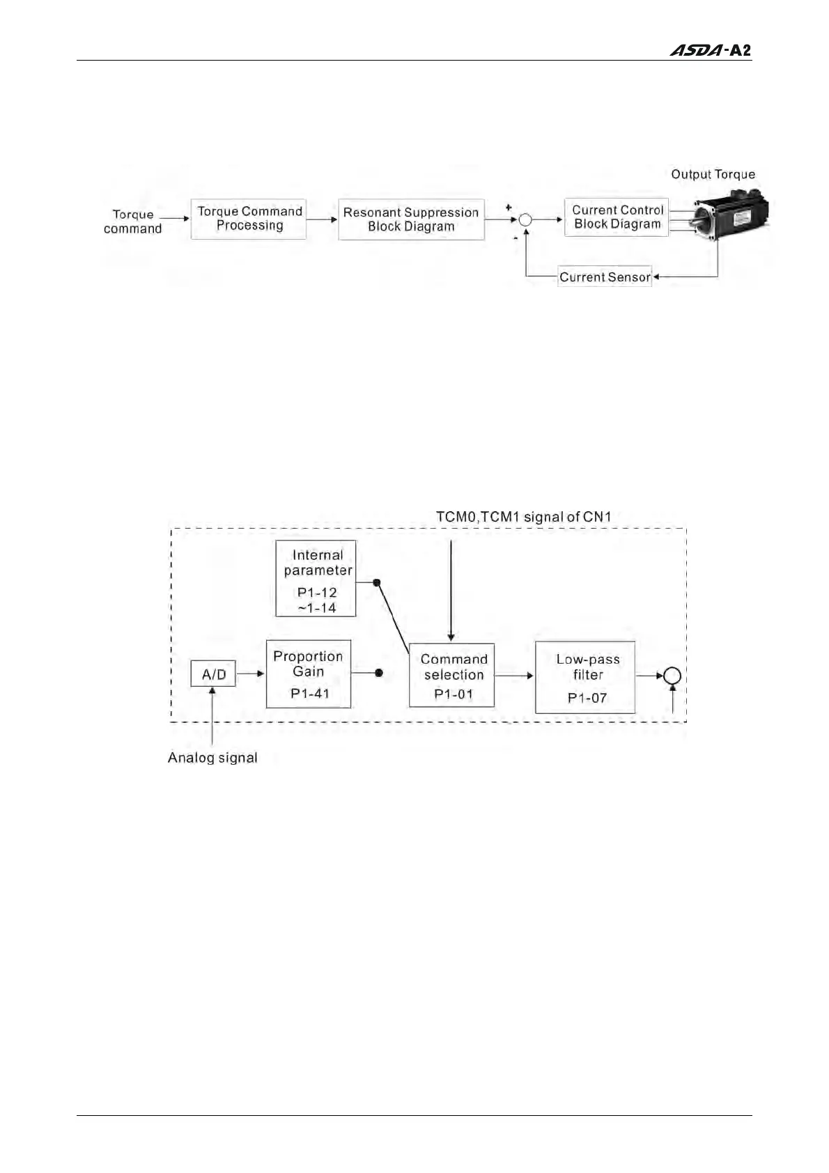
6.4.2 Structure of Torque Control Mode
Basic Structure:
The toque command processing is used to select the command source of torque control
according to chapter 6.4.1, including max. analog torque command (parameter P1-41)
and smoothing strategy of torque control mode. The current control block diagram is
used to manage the gain parameters of the servo drive and calculate the current input
provided to motor instantaneously. As the current control block diagram is too
complicated, setting the parameters of current control block diagram is not allowed. The
function and structure of torque command processing is shown as the figure below:
The command source is selected according to the state of TCM0, TCM1 and parameter
P1-01 (T or Tz). Whenever the command signal needs to be more smoothly, we
recommend the users to use proportional gain (scalar) and low-pass filter to adjust torque.
6-46 Revision January 2011
Call 1(800)985-6929 for Sales
deltaacdrives.com
sales@deltaacdrives.com
Call 1(800)985-6929 for Sales
deltaacdrives.com
sales@deltaacdrives.com

Related product manuals