EasyManua.ls Logo

Delta Electronics ASDA-A2 Series - Page 318

Delta Electronics ASDA-A2 Series
583 pages
Print Icon
To Next Page IconTo Next Page
To Next Page IconTo Next Page
To Previous Page IconTo Previous Page
To Previous Page IconTo Previous Page
Loading...
Chapter 8 Servo Parameters
Revision January 2011 8-73
P1 - 60
Reserved (Do Not Use)
P1 - 61
Reserved (Do Not Use)
P1 - 62
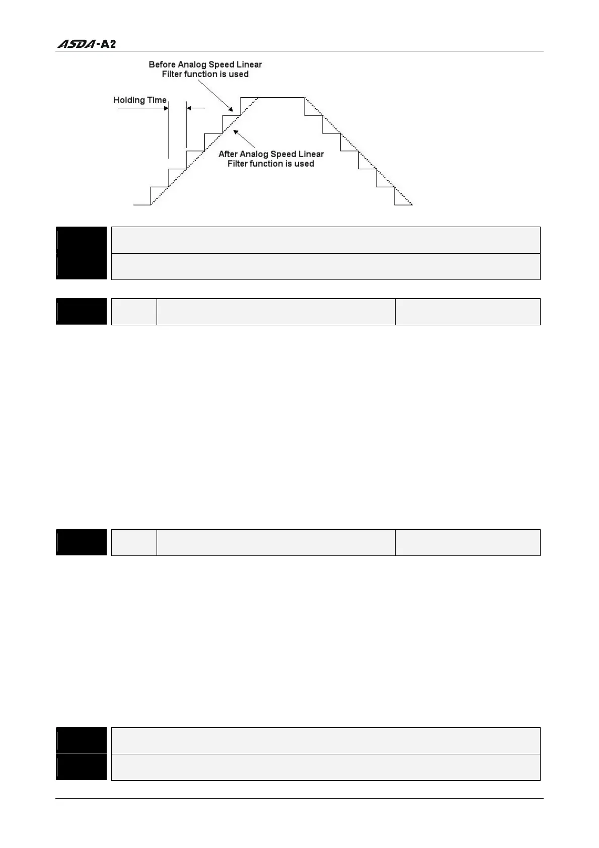
FRCL Friction Compensation Percentage Address: 017CH, 017DH
Default: 0 Related Section: N/A
Applicable Control Mode: PT, PR, S
Unit: %
Range: 0 ~ 100
Data Size: 16-bit
Display Format: Decimal
Settings:
This parameter is used to set the torque percentage for friction compensation. If P1-62
is set to 0, the function of P1-62 is disabled. The function of P1-62 is enabled when the
setting value of P1-62 is set to 1 or more.
P1 - 63
FRCT Friction Compensation Smooth Constant Address: 017EH, 017FH
Default: 0 Related Section: N/A
Applicable Control Mode: ALL
Unit: msec
Range: 0 ~ 1000
Data Size: 16-bit
Display Format: Decimal
Settings:
This parameter is used to set the smooth constant of friction compensation.
P1 - 64
Reserved (Do Not Use)
P1 - 65
Reserved (Do Not Use)
Call 1(800)985-6929 for Sales
deltaacdrives.com
sales@deltaacdrives.com
Call 1(800)985-6929 for Sales
deltaacdrives.com
sales@deltaacdrives.com

Related product manuals