EasyManua.ls Logo

Delta 43-355 - Additional Safety Rules for Wood Shapers; Machine Setup and Handling Safety; Cutter and Workpiece Safety; Operational Safety and Housekeeping

Delta 43-355
16 pages
Print Icon
To Next Page IconTo Next Page
To Next Page IconTo Next Page
To Previous Page IconTo Previous Page
To Previous Page IconTo Previous Page
Loading...
3
1. DO NOT OPERATE THIS MACHINE UNTIL it is
assembled and installed according to the instructions.
2. OBTAIN ADVICE from your supervisor, instructor, or
another qualified person if you are not familiar with the
operation of this machine.
3. FOLLOW ALL WIRING CODES and recommended
electrical connections.
4. USE THE GUARDS WHENEVER POSSIBLE. Check to
see that they are in place, secured, and working
correctly.
5. NEVER TURN THE MACHINE “ON” before clearing the
table of all objects (tools, scraps of wood, etc.).
6. AVOID AWKWARD OPERATIONS AND HAND
POSITIONS where a sudden slip could cause a hand to
move into the cutter.
7. KEEP ARMS, HANDS AND FINGERS away from the
cutter.
8. NEVER START THE MACHINE with the workpiece
contacting the cutter.
9. NEVER REACH UNDER THE TABLE while the machine
is running.
10. KEEP CUTTERS SHARP and free from rust and pitch.
11. NEVER ADJUST THE FENCE while the machine is
running.
12. ADJUST THE FENCE HALVES so that the cutter
opening is never more than is required to clear the cutter.
13. LOCK THE FENCE hardware after making fence
adjustments.
14. PROPERLY SECURE THE CUTTERS before starting
the machine.
15. DO NOT PERFORM ANY OPERATION FREE-HAND.
Use the fence for straight-shaping, a miter gauge for
end-shaping, and the starting pin and rub collars for
curve-shaping.
16. KEEP THE FRONT MOTOR ACCESS PANEL
CLOSED while the machine is running.
17. DO NOT FEED A WORKPIECE that is warped,
contains knots, or is embedded with foreign objects
(nails, staples, etc.).
18. NEVER RUN A WORKPIECE between the fence and
the cutter.
19. USE A MITER GAUGE and a clamp attachment for end
shaping a workpiece whenever possible. Remove the
fence during this operation.
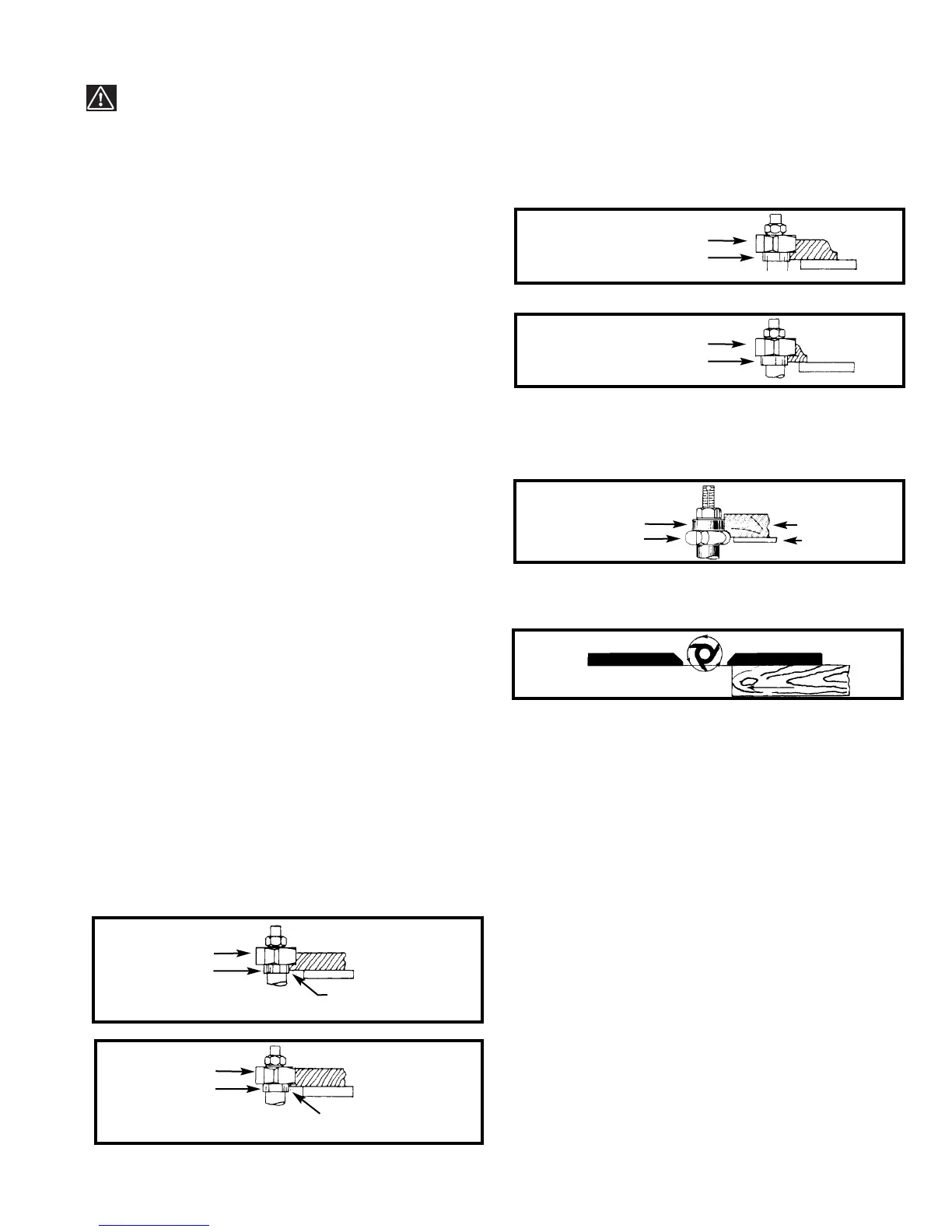
20. PROVIDE SUFFICIENT BEARING SURFACE when
shaping with a starting pin and collar(s) Figs. B and C.
ADDITIONAL SAFETY RULES FOR WOOD SHAPERS
Fig. B
21. ONLY SHAPE LARGE WORKPIECES when using
starting pin and collar(s). DO NOT SHAPE short or light
workpieces when using starting pin and collar(s). (Figs. D
and E).
Fig. D
Fig. E
WARNING: FAILURE TO FOLLOW THESE RULES MAY RESULT IN SERIOUS PERSONAL INJURY.
Fig. F
SUFFICIENT
BEARING SURFACE
CUTTER
COLLAR
RIGHT
CUTTER
COLLAR
RIGHT
CUTTER
COLLAR
WRONG
CUTTER
COLLAR
WORK
TABLE
22. POSITION THE CUTTER below the collar(s) when
shaping with starting pin and collar(s)
(Fig. F).
24. NEVER PERFORM LAYOUT, assembly or set-up
work on the table/work area when the machine is
running.
25. TURN THE MACHINE “OFF” AND DISCONNECT THE
MACHINE from the power source before installing or
removing accessories, before adjusting or changing set-
ups, or when making repairs.
26. TURN THE MACHINE “OFF”, disconnect the machine
from the power source, and clean the table/work area
before leaving the machine. LOCK THE SWITCH IN THE
“OFF” POSITION to prevent unauthorized use.
27. ADDITIONAL INFORMATION regarding the safe and
proper operation of this machine is available from the
Power Tool Institute, 1300 Summer Avenue, Cleveland,
OH 44115-2851. Information is also available from the
National Safety Council, 1121 Spring Lake Drive, Itasca,
IL 60143-3201. Please refer to the American National
Standards Institute ANSI 01.1 Safety Requirements for
Woodworking Machines and the U.S. Department of
Labor OSHA 1910.213 Regulations.
Fig. G
CUTTER ROTATION
FEED
Fig. C
INSUFFICIENT
BEARING SURFACE
CUTTER
COLLAR
WRONG
23. FEED WORKPIECE against cutter rotation (Fig. G).
SAVE THESE INSTRUCTIONS.
Refer to them often
and use them to instruct others.

Related product manuals