EasyManua.ls Logo

Delta 80CS048J24 - Page 12

Delta 80CS048J24
32 pages
Print Icon
To Next Page IconTo Next Page
To Next Page IconTo Next Page
To Previous Page IconTo Previous Page
To Previous Page IconTo Previous Page
Loading...
9
Ļ
.
ĸ
ĺ
Ĺ
ĸ
ķ
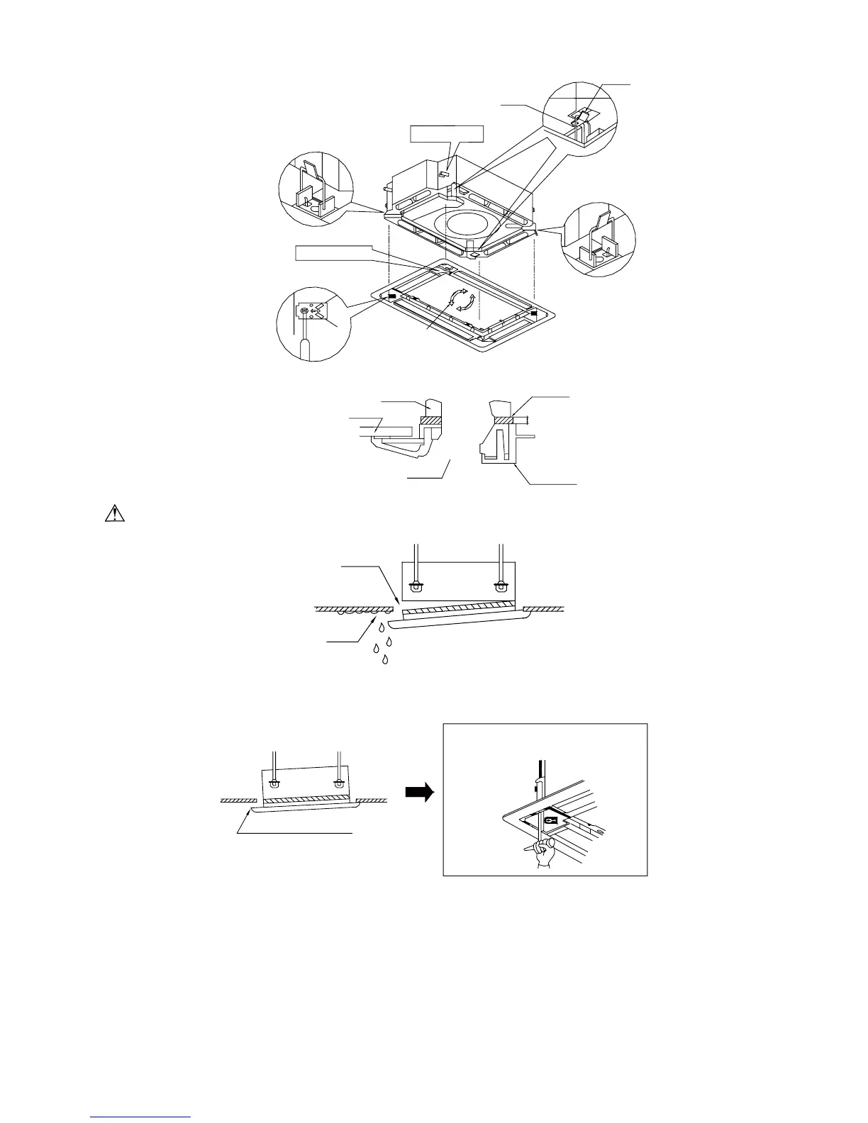
Latch
Hook
Ceiling
5mm to 8mm
Decoration panel
Sealing material
Indoor unit
Air outlet vent
Swing flap motor
Piping positio n
Fig. 4
Note!
ķ
Improper screwing of the screws may cause the troubles shown in Fig. 5.
Water condensatation, water drop
Air leak from ceiling
Air leak
Fig. 5
ĸ
If the gap still exists between the ceiling and the decoration panel after tightening the
screws, readjust the height of the indoor unit. (As shown in Fig. 6)
If the raising lever and drain hose are
not affect, can adjust the height of
indoor unit by the hole on the corner
of panel.
Gaps are not allowed
Fig. 6
$IWHU¿[LQJEHVXUHQRJDSOHIWEHWZHHQWKHFHLOLQJDQGWKHSDQHO
(3). Wiring of the Decoration Panel (Fig. 7)
Ɣ
&RQQHFWWKHMRLQWVIRUWKHVZLQJÀDSPRWRUOHDGZLUHDWSODFHVLQVWDOOHGRQWKHSDQHO

Related product manuals